US12287175 - Accessory mounts

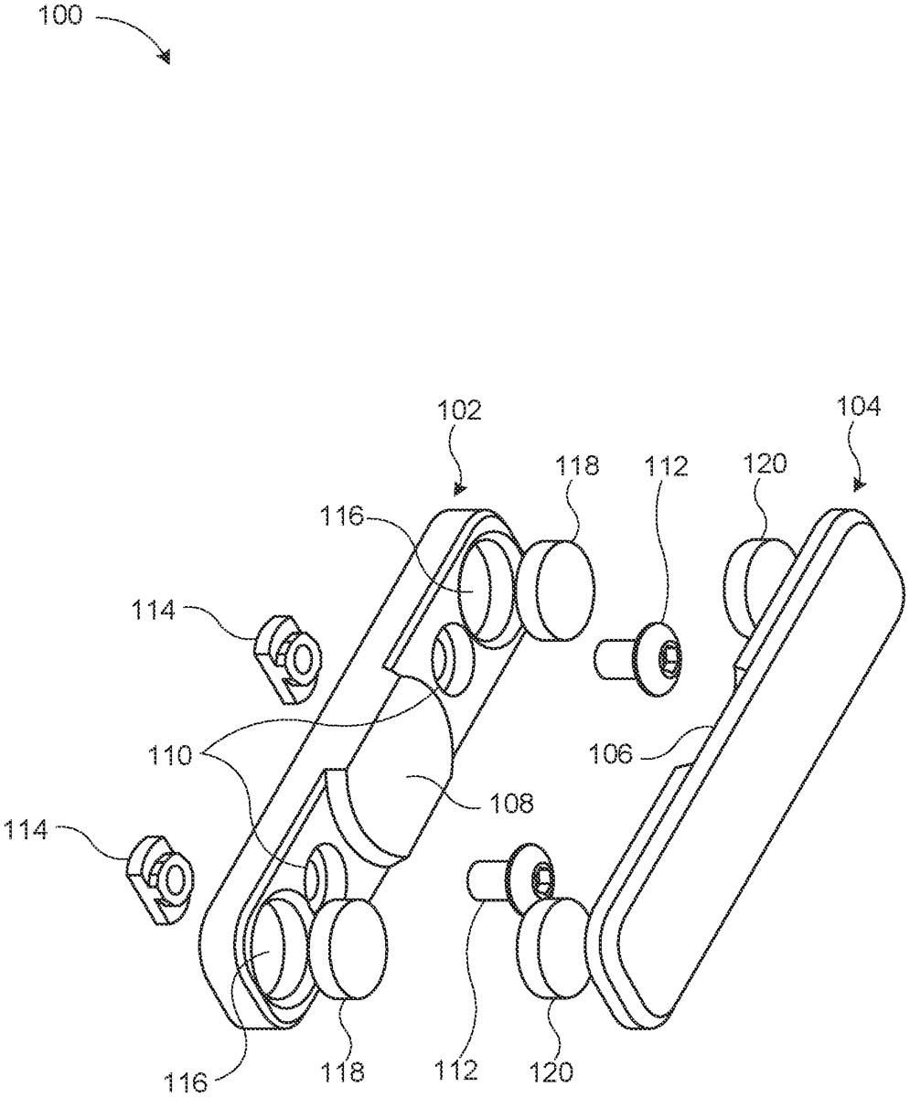
The patent describes a system for mounting firearm accessories that includes a mounting portion with a magnet seat and an alignment projection, and an accessory portion with a corresponding alignment recess and magnet seat. The design allows for easy alignment and secure attachment of the accessory to the mounting portion through magnetic engagement.
Claim 1
- A system comprising: a mounting portion comprising: an alignment projection extending outward substantially centrally from a first surface of the mounting portion; a mount-side magnet seat formed in the first surface of the mounting portion offset from the alignment projection; and a mount-side magnet disposed in the mount-side magnet seat; and an accessory portion comprising: a second surface substantially centrally forming an alignment recess extending at least partially into a thickness of the accessory portion, the alignment recess being configured to engage with the alignment projection of the mounting portion to align the accessory portion with the mounting portion; an accessory-side magnet seat formed in the second surface of the accessory portion offset from the alignment recess; and an accessory-side magnet disposed in the accessory-side magnet seat, the accessory-side magnet being configured to engage with the mount-side magnet to removably secure the accessory portion relative to the mounting portion. a mounting portion comprising: an alignment projection extending outward substantially centrally from a first surface of the mounting portion; a mount-side magnet seat formed in the first surface of the mounting portion offset from the alignment projection; and a mount-side magnet disposed in the mount-side magnet seat; and an alignment projection extending outward substantially centrally from a first surface of the mounting portion; a mount-side magnet seat formed in the first surface of the mounting portion offset from the alignment projection; and a mount-side magnet disposed in the mount-side magnet seat; and an accessory portion comprising: a second surface substantially centrally forming an alignment recess extending at least partially into a thickness of the accessory portion, the alignment recess being configured to engage with the alignment projection of the mounting portion to align the accessory portion with the mounting portion; an accessory-side magnet seat formed in the second surface of the accessory portion offset from the alignment recess; and an accessory-side magnet disposed in the accessory-side magnet seat, the accessory-side magnet being configured to engage with the mount-side magnet to removably secure the accessory portion relative to the mounting portion. a second surface substantially centrally forming an alignment recess extending at least partially into a thickness of the accessory portion, the alignment recess being configured to engage with the alignment projection of the mounting portion to align the accessory portion with the mounting portion; an accessory-side magnet seat formed in the second surface of the accessory portion offset from the alignment recess; and an accessory-side magnet disposed in the accessory-side magnet seat, the accessory-side magnet being configured to engage with the mount-side magnet to removably secure the accessory portion relative to the mounting portion.
Google Patents
https://patents.google.com/patent/US12287175
USPTO PDF
https://image-ppubs.uspto.gov/dirsearch-public/print/downloadPdf/12287175