US12287174 - Auto-centre barrel cam for small optical systems

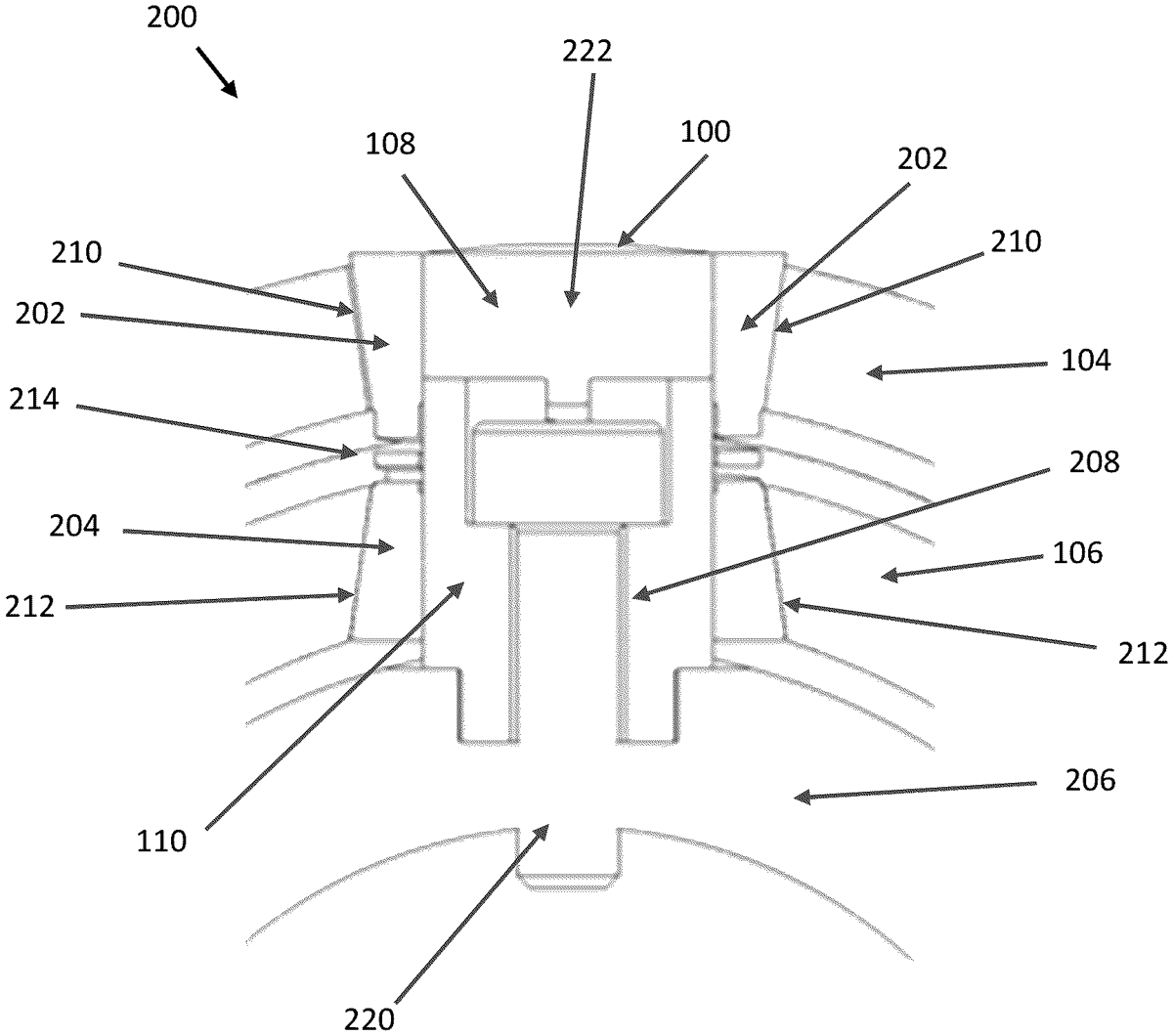
The patent describes an auto-center barrel cam designed for small optical systems, featuring a tapered channel structure in both the outer and inner barrels to ensure alignment as the inner barrel moves. A cam follower with a flexure part maintains its position within the channels, enhancing the stability and precision of the optical system.
Claim 1
- An auto-center barrel cam comprising: an outer barrel including a first channel extending longitudinally along the outer barrel, the first channel being tapered on both a first side and second side from an inner surface to an outer surface of the outer barrel outwardly at a first angle; an inner barrel within the outer barrel, the inner barrel having an outer surface adjacent to the inner surface of the outer barrel, the inner barrel including a second channel extending longitudinally along the inner barrel, the second channel being tapered on both a first side and a second side from an outer surface to an inner surface of the inner barrel inwardly at a second angle; and a cam follower including: a flexure part having a first section with a first surface, a second section with a second surface, a spring section between the first section and the second section configured to pull the first section and the second section toward each other, the first section being tapered at a third angle opposite the first angle to maintain the first surface in contact with a surface along the first tapered channel of the outer barrel and the second section being tapered at a fourth angle opposite the second angle to maintain the second surface in contact with a surface along the second tapered channel of the inner barrel; and wherein, the flexure part is arranged to maintain the cam follower within a center of the first and second channels as the inner barrel moves in relation to the outer barrel. an outer barrel including a first channel extending longitudinally along the outer barrel, the first channel being tapered on both a first side and second side from an inner surface to an outer surface of the outer barrel outwardly at a first angle; an inner barrel within the outer barrel, the inner barrel having an outer surface adjacent to the inner surface of the outer barrel, the inner barrel including a second channel extending longitudinally along the inner barrel, the second channel being tapered on both a first side and a second side from an outer surface to an inner surface of the inner barrel inwardly at a second angle; and a cam follower including: a flexure part having a first section with a first surface, a second section with a second surface, a spring section between the first section and the second section configured to pull the first section and the second section toward each other, the first section being tapered at a third angle opposite the first angle to maintain the first surface in contact with a surface along the first tapered channel of the outer barrel and the second section being tapered at a fourth angle opposite the second angle to maintain the second surface in contact with a surface along the second tapered channel of the inner barrel; and a flexure part having a first section with a first surface, a second section with a second surface, a spring section between the first section and the second section configured to pull the first section and the second section toward each other, the first section being tapered at a third angle opposite the first angle to maintain the first surface in contact with a surface along the first tapered channel of the outer barrel and the second section being tapered at a fourth angle opposite the second angle to maintain the second surface in contact with a surface along the second tapered channel of the inner barrel; and wherein, the flexure part is arranged to maintain the cam follower within a center of the first and second channels as the inner barrel moves in relation to the outer barrel.
Google Patents
https://patents.google.com/patent/US12287174
USPTO PDF
https://image-ppubs.uspto.gov/dirsearch-public/print/downloadPdf/12287174