Takedown

Patents tagged Takedown

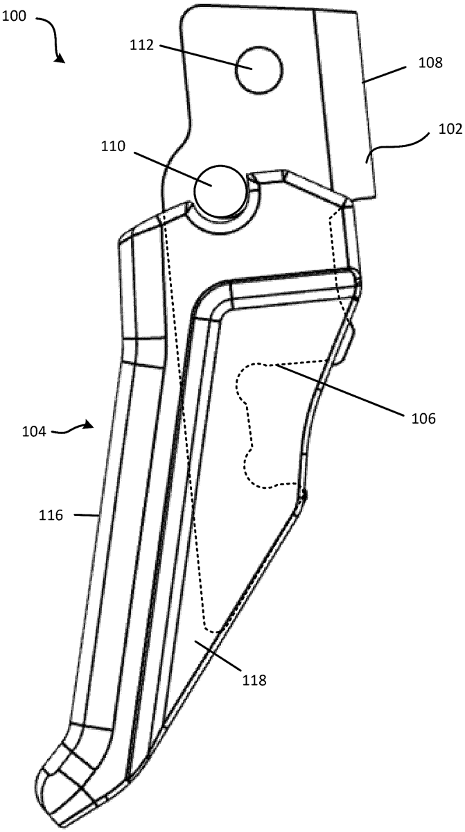
Jul 29, 2025

US12372316 - Takedown lever, takedown safety, and trigger shoe

A handgun trigger has a trigger body configured for pivotable or rotatable movement when installed in a handgun. A trigger shoe is removably attached or attachable to the trigger body and defines a user interface for firing the handgun. The trigger shoe can be made of polymeric material and can be attached to the trigger body using a snap fit. For example, the trigger shoe snaps over rear-facing surfaces of the trigger body when installed. Also disclosed is a takedown lever assembly for a semiautomatic handgun, where the takedown actuation lever operable between a firing position and a takedown position. In the takedown position the takedown actuation lever permits removal of the slide from the frame. In the takedown position the trigger is blocked from rotating to the pulled trigger position.

Jul 1, 2025

US12345493 - Tool-less takedown bushing/compensator device for pistol

A bushing/compensator device for a firearm is provided that includes a compensator member having a first aperture having an axis that is coaxial with the axis of the barrel. A second aperture has an axis that is coaxial with the axis of the guide rod when the device is mounted on the slide. A quarter turn bayonet mount is disposed at a rear end of the first aperture that mates with a bayonet mount aperture in the slide. When the bayonet mount is locked, the axis of the second aperture is aligned with the axis of the guide rod of the pistol, and when the bayonet mount is unlocked, the device is removable from the slide. A button assembly is retained in the second aperture and includes a head at one end and a fastener at the other. The rod is slidable from a first position wherein the head is adjacent to the front end of the second aperture, to a second position wherein the second end of the rod depresses the recoil spring plug. A spring biases the rod to the first position.

May 20, 2025

US12305946 - Tool-less takedown rod for pistol

A recoil rod assembly is provided, including a front rod and a rear rod. A cylindrical protuberance is disposed at the rear end of the front rod or the front end of the rear rod. A cylindrical aperture is disposed at the other. The axis of the cylindrical protuberance or the axis of the cylindrical aperture is offset from the axis of the rear rod. The cylindrical protuberance is disposed in the cylindrical aperture, wherein the axis of the cylindrical protuberance and the axis of the cylindrical aperture are coaxial. The front rod is rotatable with respect to the rear rod about the coaxial axes from a first position wherein the axis of the front rod is coaxial with the axis of the rear rod to a second position wherein the axis of the front rod is offset from the axis of the rear rod.