Signature

Patents tagged Signature

Mar 17, 2026

US12578172 - System and method for obtaining training munition firing signature

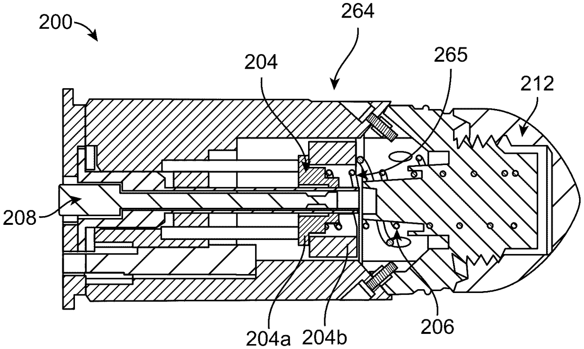
A training munition assembly for use with a weapon includes a case, a first firing element, and a release assembly. The case defines an interior cavity. The first firing element is disposed within the interior cavity. The release assembly is coupled to the case and engages the first firing element. The release assembly is configured to cause movement of the first firing element from a first position within the interior cavity to a second position within the interior cavity responsive to actuation of the release assembly from outside of the case. Movement of the first firing element is configured to generate a firing signature that is indicative of actuation of the release assembly.