Sidearm

Patents tagged Sidearm

Feb 3, 2026

US12540805 - Reverse-saboted sidearm systems, and related sidearms, ammunition, and methods

A representative reverse-saboted sidearm system includes: a sidearm having a barrel assembly with an inner wall defining a longitudinally extending bore; and a round of reverse-saboted ammunition having a non-necked casing, a reverse sabot, and a projectile, the reverse sabot mounted at a discharge end of the casing with a distal end of the reverse sabot extending outwardly from the casing, the reverse sabot exhibiting a diameter corresponding to a diameter of the casing and defining a receiving passage aligned with a longitudinal centerline of the casing, the projectile being at least partially disposed within the receiving passage of the reverse sabot; the inner wall of the barrel assembly being configured to engage an exterior surface of the projectile to direct the projectile.

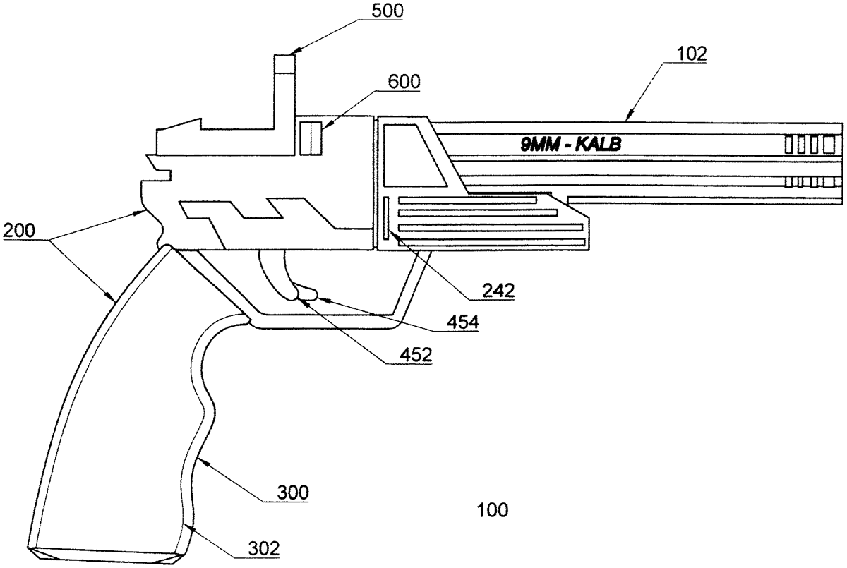
Sep 9, 2025

US12410981 - Additive manufacturing enhanced sidearm

An additive manufactured enhanced sidearm comprising an ejectable barrel group assembly having two barrels, each with a chamber, in an under and over configuration thereby forming a top and bottom, and preloaded with keyed rounds having a series wherein each of said projectiles is keyed via a keyway in a chamber in said barrel, each of said projectiles in said barrel group are keyed having 0 to 4 keyways formed in the side of the projectile said projectiles having a propellant and primer means disposed behind said projectile in said chamber, a series of electrical contacts disposed within said chambers in communication with said primer means, a rail disposed at the bottom of the barrels with a locking notch means, a battery disposed with said ejectable barrel group, a grip assembly in communication with said ejectable barrel group assembly said grip assembly comprising a hand grip, a pc board disposed within said hand grip, a trigger group disposed upon said pc board, a high voltage generator circuit disposed on said pc board, at least one recoil plate assembly disposed upon said pc board, at least one microprocessor disposed upon said pc board, and a removable safety block that interferes with the batter to pc board connection.