Shooting_range

Patents tagged Shooting_range

Apr 21, 2026

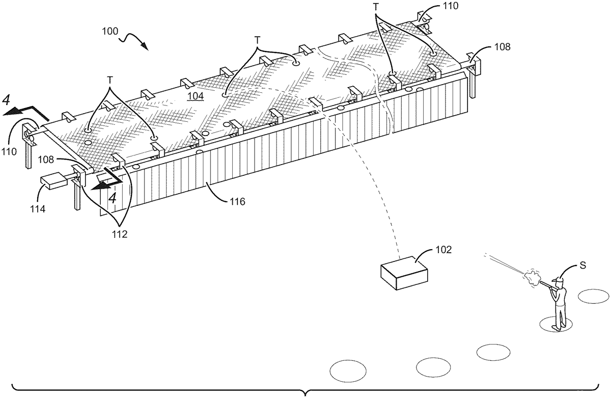
US12607436 - System and method for recovery of undamaged frangible aerial targets

A system and method for recovery of undamaged frangible aerial targets at shooting ranges includes a net positioned horizontally above ground level to cover a target fall zone. The net has mesh openings sized to retain undamaged frangible aerial targets while allowing damaged targets to pass through. The net forms a closed loop around parallel elongated front and rear rollers supported above ground by a plurality of fixed caster assemblies. A motor operatively coupled to at least one roller drives the net in a conveyor-like motion. Undamaged targets landing on the net are transported by the net to a collection area positioned adjacent to the front roller. The system may include friction strips on the rollers to enhance traction and a protective barrier shielding the collection area from stray shotgun pellets, thereby enabling recovery and reuse of targets that would otherwise break upon ground impact.