Semi-Automatic

Patents tagged Semi-Automatic

Jan 6, 2026

US12516902 - Load balanced firearm barrel extension

A barrel extension configured to reduce the likelihood of premature bolt failure in automatic and/or semi-automatic style weapons. The barrel extension includes one or more cutouts within a body of the barrel extension. The cutouts are configured to reduce rigidity of the barrel extension proximal to the location of the cutout. As the rigidity around the extractor is lowered, the force on the bolt lugs is more evenly distributed. In one example, the cutouts are in the form of a single oval cutout positioned adjacent an extractor of the bolt.

Nov 18, 2025

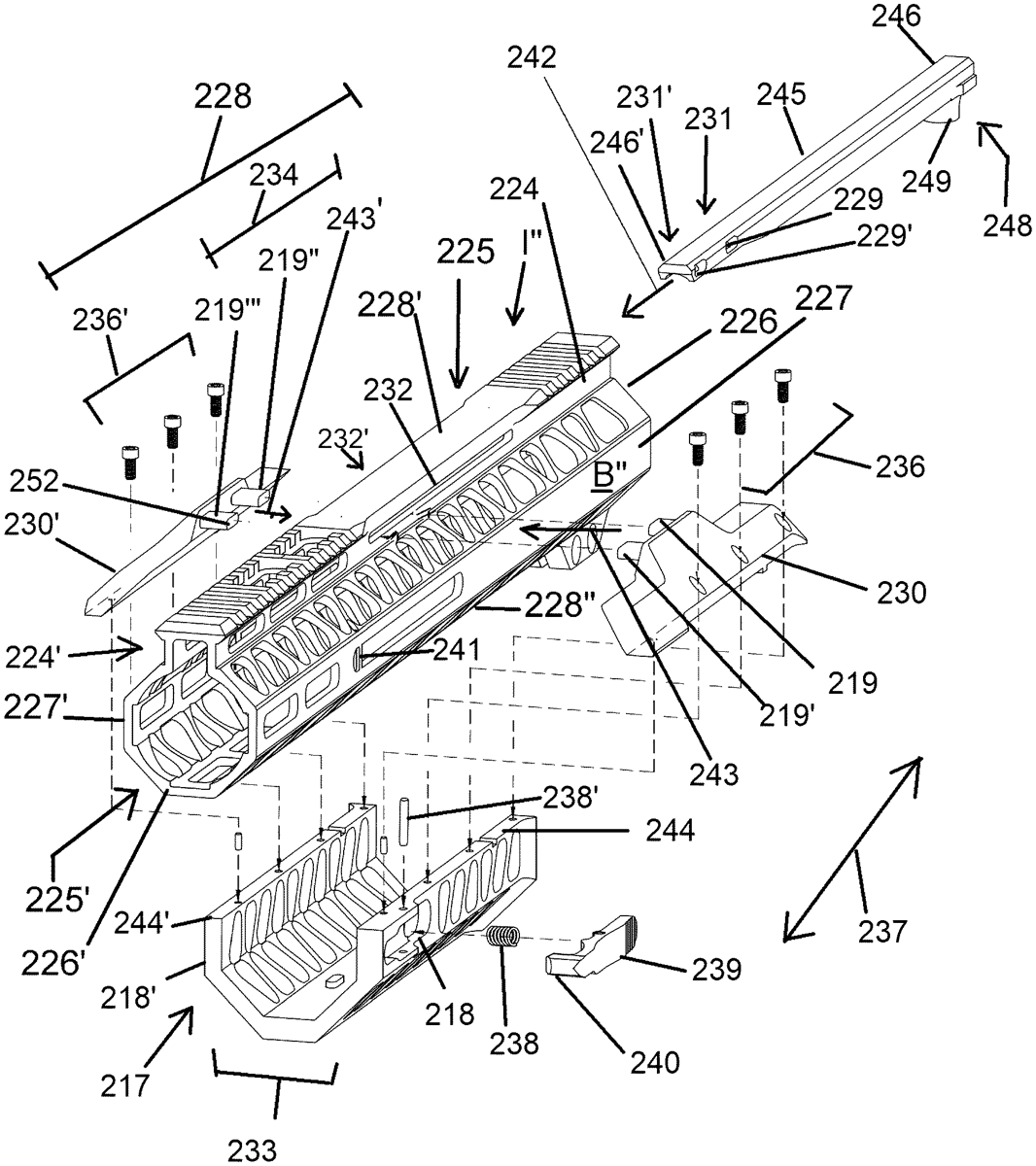
US12474140 - Forward charging handle for firearm and method therefore

A device and method for charging an automatic or semi-automatic firearm, via a unique forward charging handle configuration. The present invention is illustrated and for use on the AR-15 rifle platform, but is equally applicable to various other caliber and configured firearms, with or without gas tubes. The forward charging handle slidably reciprocates about and along the frontal support or hand guard area (also referenced as the fore stock) in a pump action, allowing ejecting of spent, jammed or dud ammo from the chamber area, or initial chambering or charging the firearm while maintaining shooting position. The present invention is particularly suitable for use in competitive shooting, military applications, hunting, etc, allowing the user to charge, chamber, and/or unjam the firearm while maintaining firing posture, without the need for the user's hand leaving the front support.

Oct 14, 2025

US12442605 - Barrel cooling block for a semi-automatic rifle

The invention is a cooling block that is added to a semi-automatic rifle to improve the cooling of the barrel. The cooling block is designed to fit into an air-cooling shroud and sit tightly against the gun barrel. The tolerances for the contact surface between the cooling block and the outer gun are critical for optimal cooling, and the block is designed for easy replacement to provide more continuous cooling.

Aug 5, 2025

US12379169 - Side charging handle for semi-automatic firearm

A firearm with side-mounted charging handle includes a longitudinal axis, a receiver, a barrel, and a bolt carrier assembly movably disposed in the receiver. The bolt carrier assembly includes a bolt carrier and a bolt disposed at least partially therein. A charging handle comprises a mounting pin member passing transversely through the bolt carrier between first and second lateral sides thereof, and a grasping member projecting transversely outwards from the first lateral side of the bolt carrier for manually cycling the bolt carrier assembly from a forward closed breech position to the rearward open breech position. A firing pin is disposed in bolt for axial movement to strike a chambered cartridge to discharge the firearm. The charging handle mounting pin member is configured to cooperate with and retain the firing pin in the bolt carrier to block withdrawal of the firing pin from the bolt carrier assembly.

May 27, 2025

US12313363 - Firearm mounting device

A firearm mounting device securable to a surface and having a magnetic material within a base to attract and secure a firearm to the device in a readily retrievable position. The device includes a channel to receive the slide of a semi-automatic pistol and at least one slide stop disposed within the channel to engage and prevent movement of the slide as a user grips the grip of the pistol and displaces the grip towards the at least one slide stop to chamber a cartridge in the chamber of the pistol. The at least one slide stop engages and prevents movement of the slide while allowing the barrel of the pistol to protrude from under the slide.