Safetydevice

Patents tagged Safetydevice

Mar 31, 2026

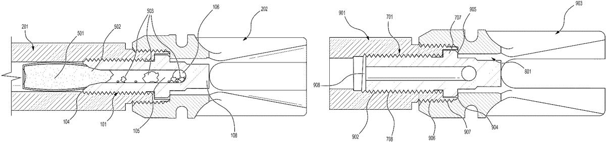
US12590776 - Discreet blank firing adapter

Provided is a blank firing adapter for a firearm that prevents a bullet or fragmentation from exiting a firearm barrel and traveling downrange. The device includes a body, a fore end, an aft end, a bore, a transverse exhaust hole, and a flange. The body is positioned within a muzzle end of the firearm barrel. The fore end includes a solid material to prevent bullet fragmentation from directly exiting the barrel in a direction coinciding with a point-of-aim direction when a live round is fired, and the transverse exhaust hole redirects gas traveling through the bore to a direction transverse to the muzzle end of the barrel. The device generates backpressure to permit automatic cycling of a weapon system, safely catches a fired bullet without any fragmentation to travel downrange, and is visually inconspicuous to the casual observer when installed, while allowing for the use of externally attached devices.