Recovery

Patents tagged Recovery

Jan 27, 2026

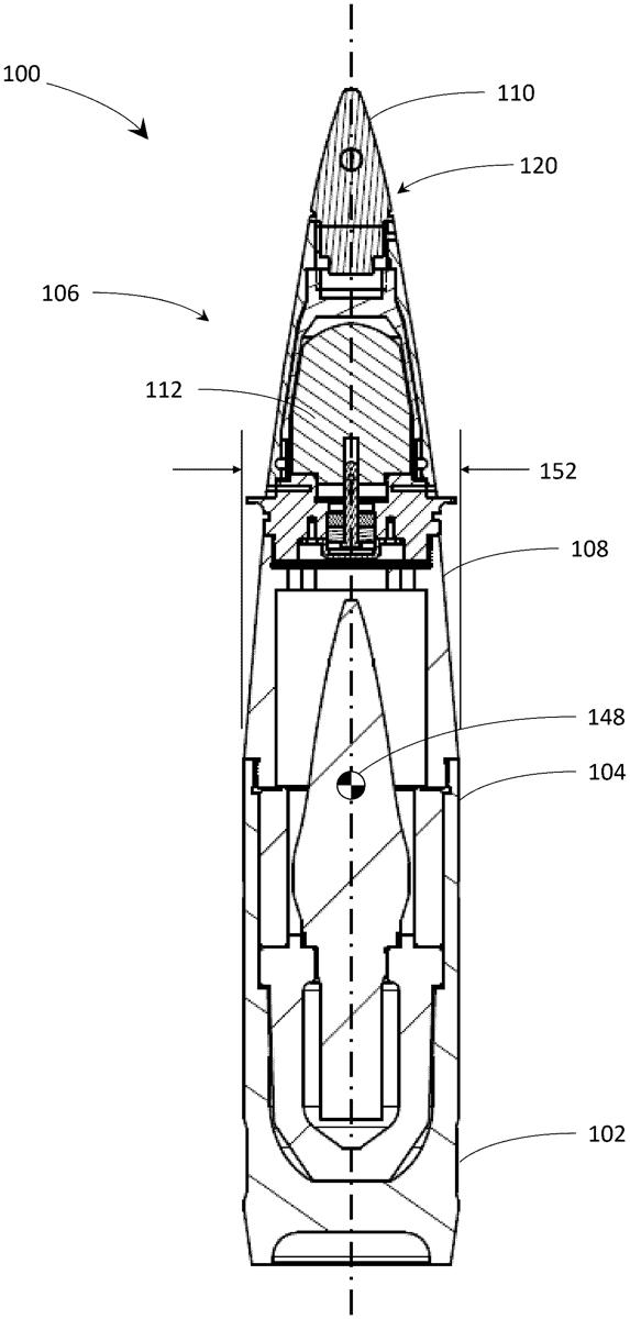
US12535308 - Recovery system for high performance large bore projectiles

A ballistic projectile recovery system includes a forward opening in an ogive of the projectile, selectively opened to deploy a portion of the recovery system. A parachute is deployable through the opening, connected to the projectile by riser line(s). A rotational bearing assembly makes the riser line(s) rotationally decoupled from the projectile. A bidirectional drag inducing element extends externally of an ogive of the projectile. A spacer, between a setback plate and the rotational bearing assembly, is deformable in at least the longitudinal direction of the projectile. The setback plate is movable between a first position to a second position made available by the compression of the spacer. In the second position, the setback plate is in contact with the projectile, providing a load path that avoids the rotational bearing assembly to take up strain applied to the projectile in at least the longitudinal direction.