Propellant

Patents tagged Propellant

Apr 7, 2026

US12594901 - Gas generator

The invention shows a gas generator comprising a pressure chamber ( 22 ) filled with compressed gas which is sealed against an environment of the gas generator ( 10 ) by a membrane ( 16 ), a solid propellant ( 30 ) received in the pressure chamber ( 22 ), and an igniter unit ( 14 ) adjacent to the pressure chamber ( 22 ). The solid propellant ( 30 ) is surrounded by a cage-type open fuel holder ( 32 ) receiving the same which protrudes into the pressure chamber ( 22 ) and is directly adjacent to the igniter unit ( 14 ). Accordingly, the pressure chamber ( 22 ) is free from solid propellant outside the fuel holder ( 32 ).

Nov 25, 2025

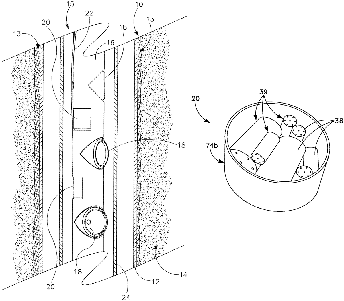
US12480388 - Propellant container for a perforating gun

A propellant container for a perforating gun includes a lower cap, one or more pieces of propellant positioned within the lower cap, wherein at least one of the one or more pieces of propellant defines one or more through-holes, and an upper cap matable with the lower cap to secure the one or more pieces of propellant within the lower cap. A filler material is present within interstitial spaces between the one or more pieces of propellant.

Nov 18, 2025

US12474147 - Grounding sabot and methods of use

A sabot that includes a body configured to be partly received within a propellant chamber of a perf gun, and the body includes an interface configured to engage a projectile, a divider that defines part of the interface, an ignition pass through that extends through the divider, an ignition stack electrically connected to the ignition pass through, a ground terminal electrically connected to the ignition pass through, a deflector defined by the divider and having a cup-shaped configuration, and the deflector is configured to expand diametrically upon ignition of a propellant in the propellant chamber when the sabot is positioned within the propellant chamber, a gas valve configured and arranged to be actuated by expansion of the deflector, and a compensator positioned between the interface and the gas valve.

Jul 8, 2025

US12350864 - Systems and methods for casting propellant grain

Systems and methods for casting solid propellants include a mandrel for forming geometric features in a perforation of a propellant grain. In various embodiments, the mandrel includes a frangible portion that is removed from the propellant grain after the propellant grain has cured around the mandrel. A second portion of the mandrel may be left behind in the propellant grain. The mandrel may include a support structured disposed in the through hole of the mandrel. The support structure may include a plurality of longitudinal channels for directed exhaust gasses through the mandrel upon ignition of the propellant grain.

Jun 24, 2025

US12339096 - Apparatus for storing and dispensing propellant, a bullet, and a primer for a muzzleloader

A quick loader includes a propellant tube, a main loader body, a funnel valve, and a funnel tube. The funnel valve features a channel that connects the main loader body to the funnel tube, allowing propellant to flow therethrough when open. The funnel valve is coupled to the main loader body by a hinge on a metal pin that enables free rotation around a fixed axis. The funnel valve further features a gasket that covers an outlet of the main loader body when not in use and prevents water from entering the propellant tube. In some embodiments, the quick loader further includes a bullet compartment and a primer holder, configured respectively to hold a bullet and a primer that are accessible with one hand for quick and silent use in the field.

Jun 10, 2025

US12326327 - Ammunition cartridge

Ammunition cartridge including a rigid casing including a tubular sleeve and a base closing an end of the casing, a projectile mounted at another end of the casing, a propellant charge contained inside the casing, and an ignition device. The projectile includes a solid material body having a volume V1 extending between a tip to a trailing end, wherein the projectile further includes a cavity that extends into the body from the trailing end, a volume V2 of the cavity being at least fifteen percent (15%) of a combined volume V1+V2 of the projectile solid material and cavity: V2>0.15×(V1+V2).

May 13, 2025

US12296207 - Suppression and isolation system

The disclosure relates to an explosion suppression system and associated methods, which may include a cannon comprising a barrel and a propellant tank, a suppressant cartridge configured to be inserted into the barrel, and a triggering mechanism positioned between the barrel and propellant tank. The suppressant cartridge may be configured to operatively engage with a propellant source. One or more explosion sensors, which may be of different types, may be included in a system, and an explosion suppression device may be configured to activate when one or more of the sensors indicate an explosion. The disclosure further relates to a lock-out mechanism for an explosion suppression system, with the lock-out mechanism including a mechanical and/or electrical component. In one embodiment, an actuator may be positioned between a suppressant agent volume and a propellant agent volume of an explosion suppression system.