Orientation

Patents tagged Orientation

Nov 25, 2025

US12480387 - Methods and devices for orienting perforated guns

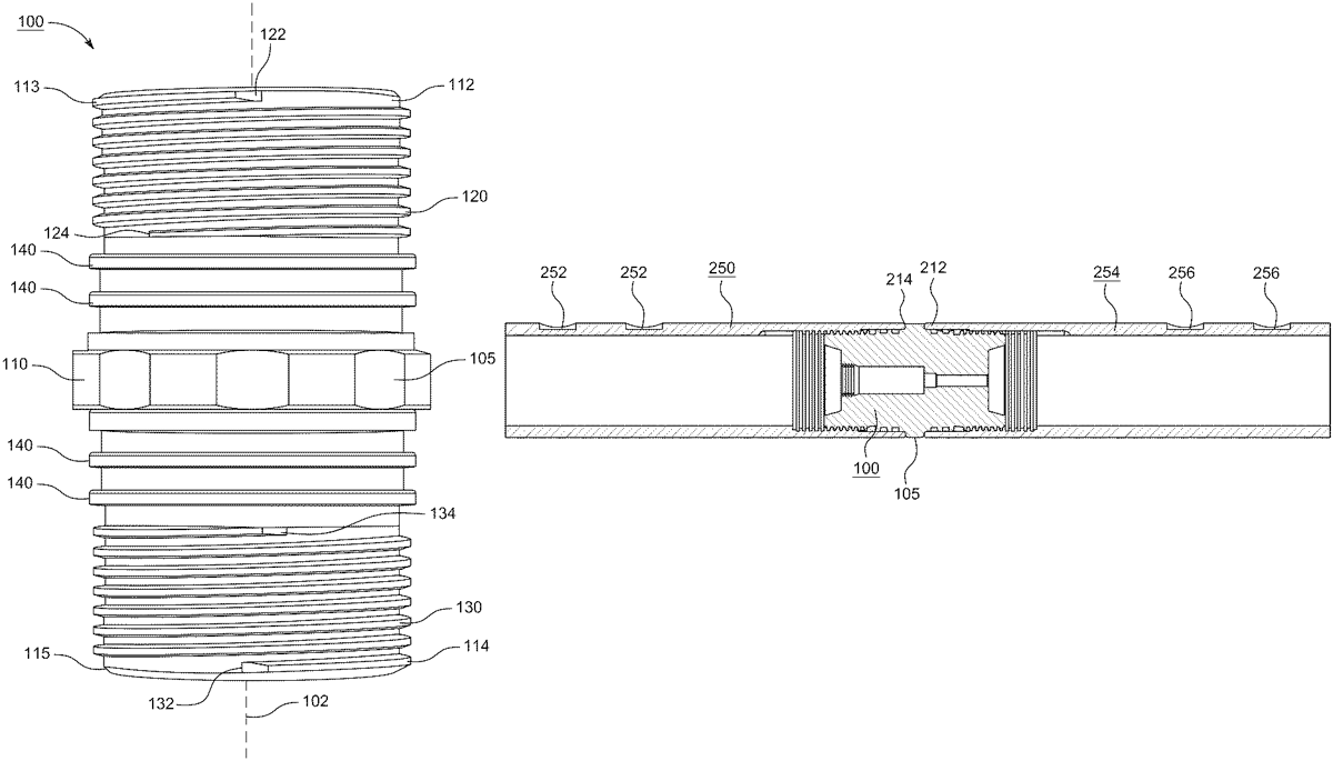
Methods and devices for orienting multiple gun barrels in desired directions and configurations have the locking threads of the gun barrels and the sub bodies placed in specified locations. Thus, when the sub body and the two gun barrels are joined to each other, the scallops of the two gun barrels will be aligned with each other.