Modification

Patents tagged Modification

Aug 12, 2025

US12385703 - Modifications for AR-10 style firearm

The present disclosure provides example embodiments related to modifications for an AR-10 style firearm. In one embodiment, the AR-10 style firearm comprises modifications that enable the AR-10 style firearm to fire cartridges having a length between 73.66 mm and 91.44 mm, without increasing the overall length and/or weight, as compared to a standard AR-10 style firearm. The modified AR-10 style firearm may comprise, for example, modifications to the upper receiver, lower receiver, bolt carrier, magazine well, charging handle, firing pin, buffer tube weight, and/or the magazine.

Jul 8, 2025

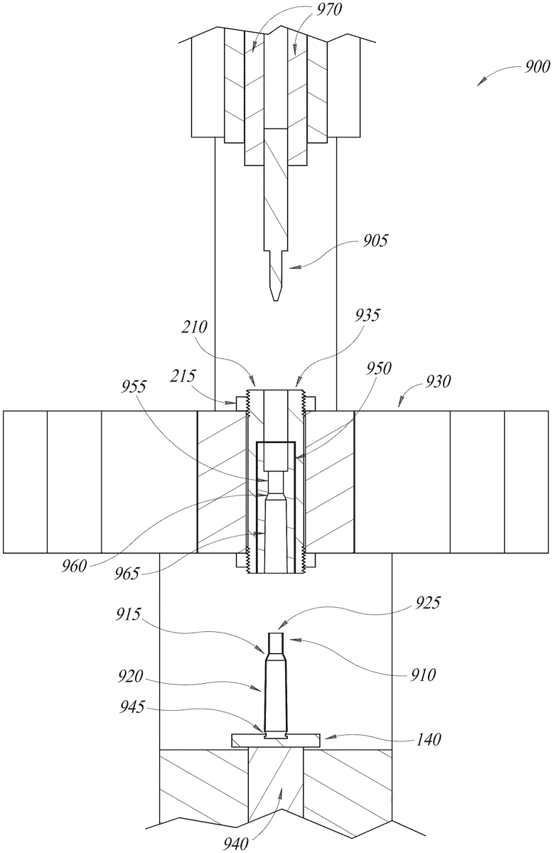
US12352547 - Modifying a projectile casing

An apparatus, system, computer-readable medium, process, die, or combination thereof to modify a projectile casing. For example, a die and mandrel can be used to shape, resize, or otherwise modify a projectile casing. A die can include different portions or sections, where the portions or sections are designed to shape or size different portions of the projectile casing such as the neck, shoulder, or body of a projectile casing. A method to insert a projectile casing into a die, where the die already includes a mandrel, and then extracting the mandrel while the die and projectile casings are held in place.

May 27, 2025

US12313386 - Modifying a projectile casing

An apparatus, system, computer-readable medium, process, die, or combination thereof to modify a projectile casing. For example, a die and mandrel can be used to shape, resize, or otherwise modify a projectile casing. A die can include different portions or sections, where the portions or sections are designed to shape or size different portions of the projectile casing such as the neck, shoulder, or body of a projectile casing. A method to insert a projectile casing into a die, where the die already includes a mandrel, and then extracting the mandrel while the die and projectile casing are held in place.