M16

Patents tagged M16

Mar 17, 2026

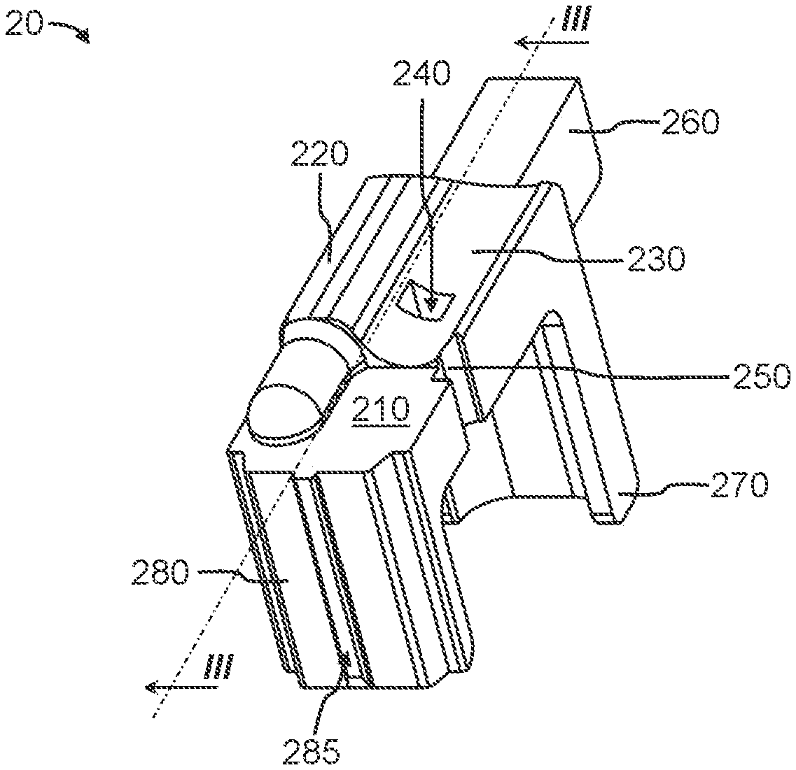
US12578157 - Ammunition magazine

The present disclosure provides ammunition magazines for bottom-loading a 5.7×28 mm ammunition round or a 4.6×30 mm ammunition round into a standard AR-15 or M16 upper receiver.