Large-Caliber

Patents tagged Large-Caliber

Mar 31, 2026

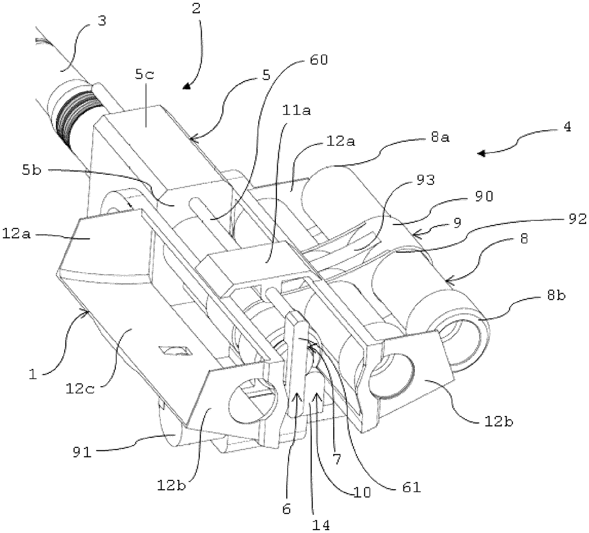
US12590771 - Large-caliber gun having a breech assembly with multiple chambers

A large-calibre firearm including a breech assembly including a breech block rigidly connected to a firearm barrel, a breech support movable in axial translation relative to the breech block and coupled to a breech head, the assembly further includes a plurality of loading chambers, a mechanism for moving the chambers, configured to support the chambers and successively place one of the chambers in a firing position, and at least one other chamber in a supply position, in which the at least one chamber is able to receive ammunition via its rear end, and a locking mechanism configured to move the breech head and the chamber placed in the firing position between an unlocked position and a locked position, in which the chamber is closed off at its rear end by the breech head and opens out at its front end into the firearm barrel.