Iot

Patents tagged Iot

Mar 31, 2026

US12590772 - Method and system for sensing, monitoring, logging and transmitting events that is assembled on a firearm

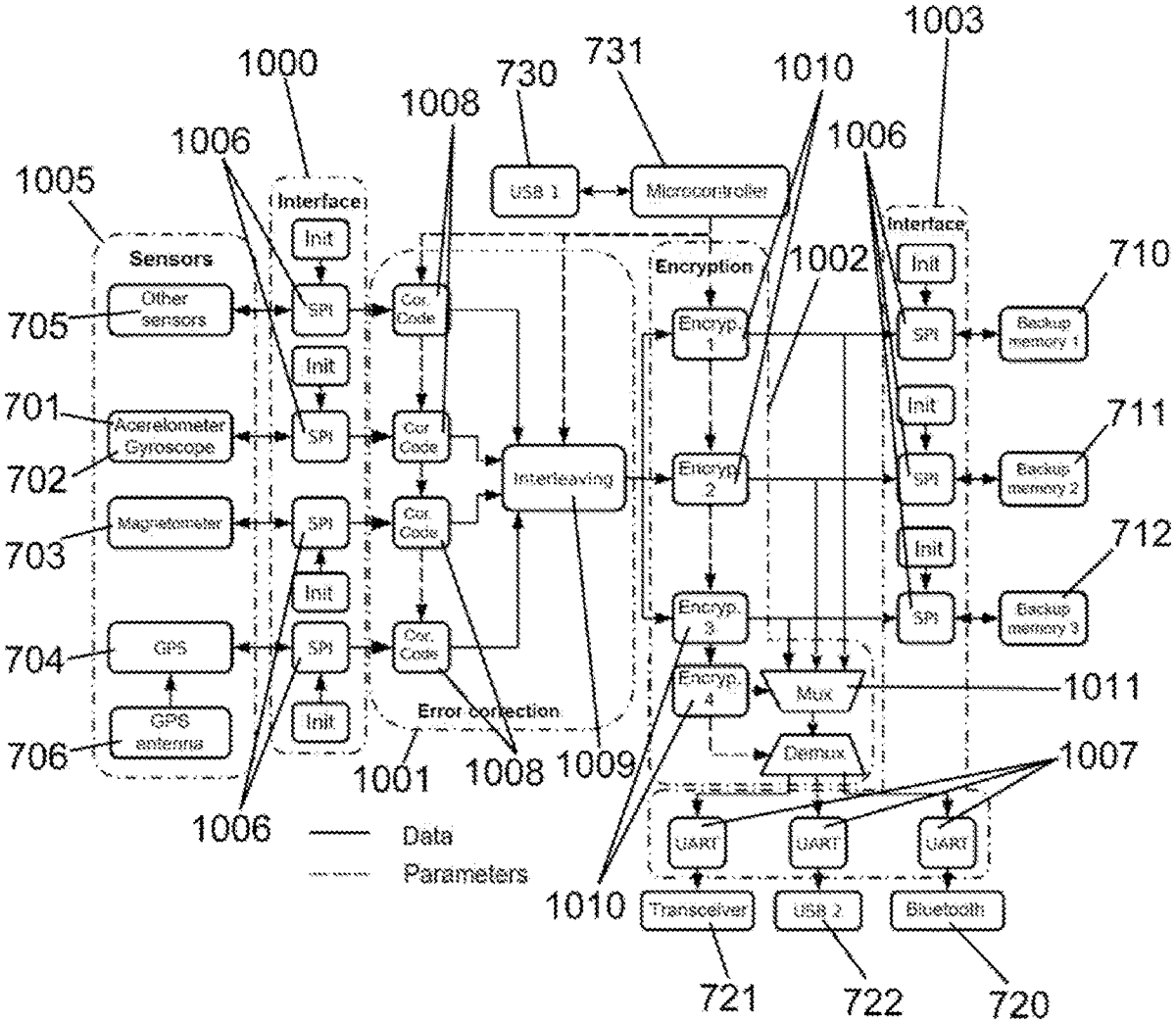
An IoT system for sensing, monitoring, logging and transmitting events that is assembled on a firearm and the holster of said firearm, made up of at least two IoT modules, wherein a first IoT module is located in the firearm and a second IoT module is located in the holster of the firearm. Said system further includes sensing, logging, storing, and transmitting the real-time (or near-real-time) location of the firearm and the user thereof in an ongoing manner, so as to be able to reconstruct the path of the firearm of interest over time. Transmitting the events selected from the set including data indicating the state of the firearm (holstered or drawn), battery charge of both modules, position of the firearm and the bearer thereof; direction of the firearm, firearm fired and the absolute orientation of each shot. In the presence of any of said events, storing in a non-volatile memory a preset time before and after the data of all the sensors before, during and after the event. Said log includes the encoding of the sensed data, the interleaving of said data and the encryption thereof.