Interface

Patents tagged Interface

Feb 10, 2026

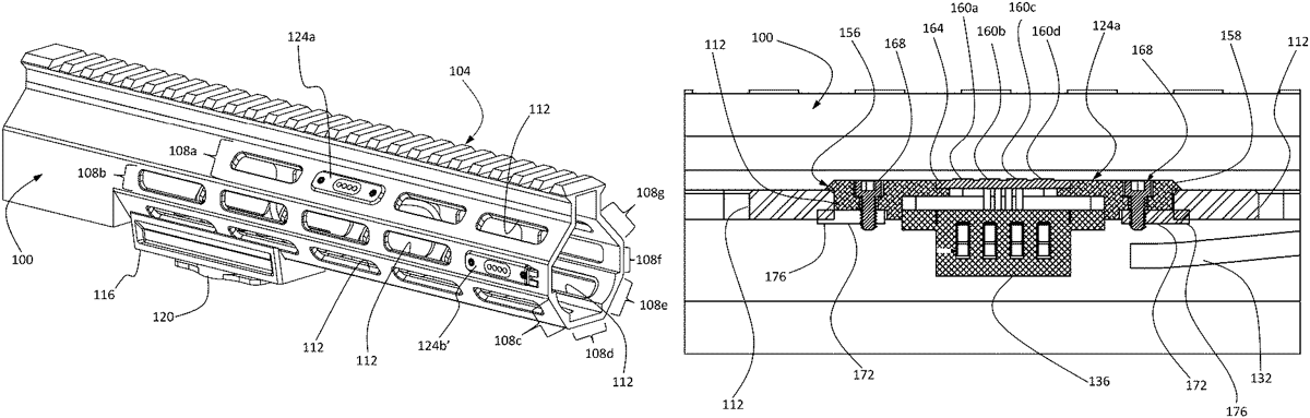
US12546554 - Power and data interface for weapon accessory mounting rail

A system and method for connecting a weapon-mounted accessory to a computer comprises a first data and power port configured to provide data and power transmission between the computer and the weapon-mounted accessory. The first data and power port is configured to detachably couple to a slot in a slot rail weapon interface. In a further aspect, one or more additional data and power ports are capable of providing data and power transmission between the computer and one or more additional weapon-mounted accessories. Each of the one or more additional data and power ports is configured to detachably couple to a slot in a slot rail weapon interface. The first data and power port and the one or more additional data and power ports are configured to be operably connected to each other to form a serial chain in a custom configuration of data and power ports.