Inflatable

Patents tagged Inflatable

Apr 21, 2026

US12607435 - Method for detecting a shot hit with an inflatable shooting target and for providing a real-time indication of the hit

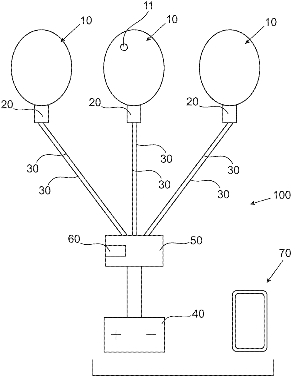
A method for detecting a shot hit on an inflatable shooting target and for providing a real-time indication of the hit. The method includes the step of providing a shooting target system with one or more inflatable shooting targets, each of them is assembled on a blower, a power source that is connected to each blower through a controller that controls the activation of each blower, and a current meter between the controller and the power source. The method includes the second step of measuring the current that flow to a certain blower, detecting changes in the current level that occurs upon a hit in a certain inflatable shooting target that is assembled on that certain blower, and making and indication of the hit by turning off the certain blower or by sending a notification to a mobile device of the user or the operator.