Ignition_device

Patents tagged Ignition_device

Apr 7, 2026

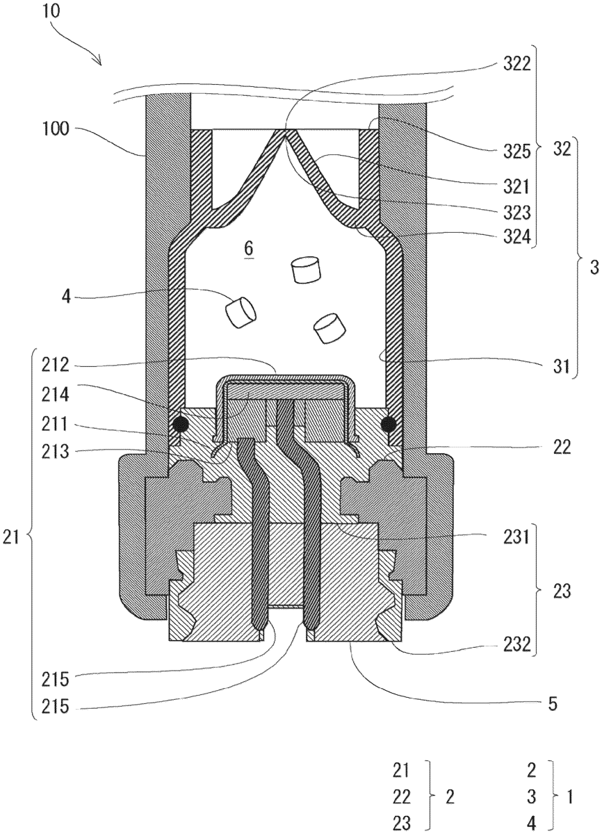
US12595991 - Gas generator

A gas generator includes: an ignition device including an igniter, an igniter holding portion having a tubular shape and being configured to hold the igniter and a fixing portion made of resin and being configured to fix the igniter to the igniter holding portion; and a case having a bottomed tubular shape and being configured to accommodate a gas generating agent which combusts by actuation of the ignition device, the case being made of resin and including a side wall portion with a base end side being connected to the fixing portion, and a closing end portion configured to close a tip end side. The case includes an inclined surface extending obliquely with respect to an axial direction of the case on the tip end side, and a fragile part formed at an edge portion excluding at least a base end portion of the inclined surface.