Hybrid

Patents tagged Hybrid

Mar 17, 2026

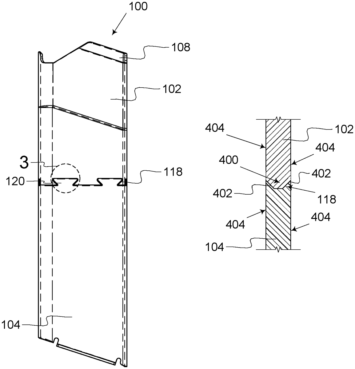
US12578156 - Hybrid magazine for a firearm

A hybrid firearm magazine. The hybrid firearm magazine has a first section fabricated from a sheet material and a second section molded from a plastic. The first section includes a mating edge defining one or more recesses. The second section engages the mating end of the first section with the plastic filling the recesses. The mating end has nonlinear edge. The plastic fills in around the nonlinear edge of the first section to form a joint. The interface of joint prevent movement of the first section relative to the second section along the vertical and horizontal axes of the hybrid firearm magazine. The thickness of the second section at the joint is substantially equal to the thickness of the first section. Optional retention couplers improve the strength of the joint and the resistance to movement of the first section relative to the second section.