Hollow-Point
Patents tagged Hollow-Point
Nov 11, 2025
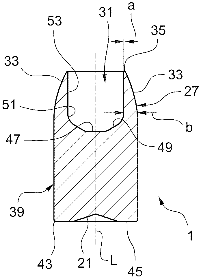
The present invention relates to a hollow-point bullet, for example for police and/or authority ammunition with a caliber of at most 13 millimeters, which is made of iron, in particular soft iron.