Highpressure

Patents tagged Highpressure

Mar 17, 2026

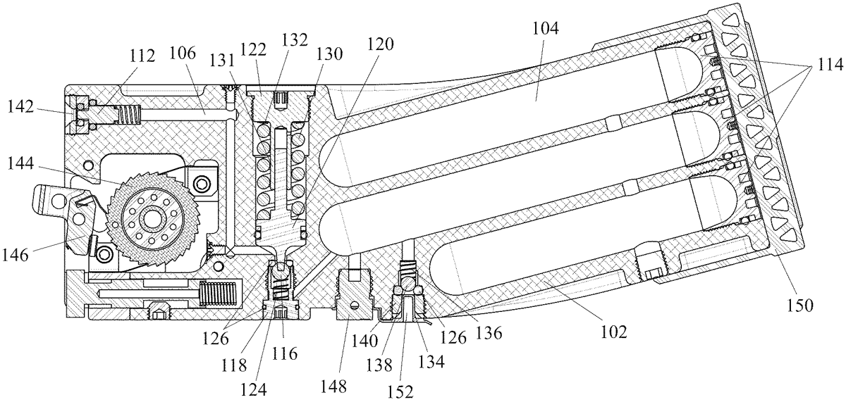
US12578160 - High-pressure air magazine

A high-pressure air magazine with an outer housing, a high-pressure chamber formed within the outer housing, a fill valve disposed between the high-pressure chamber and a fill port, and an air regulator configured to selectively pass air from the high-pressure chamber to a low-pressure chamber within the outer housing. The air regulator has a regulator ball valve positioned between the high-pressure chamber and the low-pressure chamber. A spring biases the regulator ball valve to a closed position. A regulator valve screw is configured to adjust a magnitude of the bias on the regulator ball valve. A regulator piston in contact with the regulator ball valve is configured to push the regulator ball valve to an open position when pressure within the low-pressure chamber lowers past a predetermined pressure. A regulator piston support nut is configured to adjust the predetermined pressure.