High_voltage

Patents tagged High_voltage

Apr 14, 2026

US12601569 - Systems for projecting high voltage electrical discharges in air

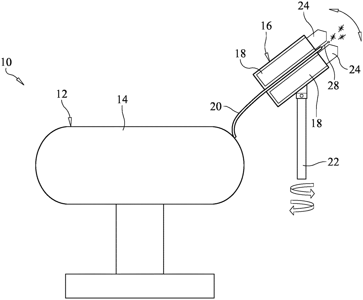
A system for projecting high voltage electrical discharges along laser filaments in air has a high voltage electrical discharge device operable to generate and discharge a high voltage electrical discharge. A laser assembly has at least one laser operable to produce laser electrically conductive laser filaments in air. An electrode is electrically connected to the high voltage electrical discharge device and configured to direct a high voltage electrical discharge at a breakout point of the electrode. The electrode breakout point is disposed in relation to the at least one laser such that when electrically conductive laser filaments are created in air by the at least one laser the high voltage electrical discharge at the breakout point is caused to travel along the electrically conductive laser filaments in air.