Foam

Patents tagged Foam

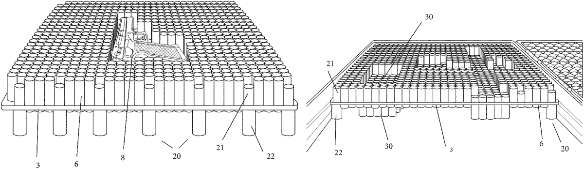
Mar 31, 2026

US12589933 - Adaptable foam grid system for insertion into protective case

An omni foam grid system for insertion into a protective case has a grid plate sandwiched between a lower perimeter frame, or series of stepped pegs or peg/holster combinations, and an upper perimeter frame. The grid plate has a lattice that forms round or square holes, into which round or square pegs are frictionally inserted. The lower perimeter frame or pegs position the grid plate above the bottom of the case, such that when an object such as a gun or drone is pressed into the invention, the pegs under the invention depress into the negative space, leaving undepressed pegs on all sides of the object to prevent lateral movement during transport in the case. The lid of the case closes upon the object, thereby securing and protecting it with foam on all sides.

Mar 31, 2026

US12590786 - Toy foam dart with impact absorbing tip

A toy form dart having an elongate dart body and a dart tip connected thereto. The dart tip has an outer surface extending from a top to a bottom thereof, and a hollow passage extends through the dart tip in a first direction defining first and second mouth openings on opposing. First and second pairs of eye socket indents are located between the respective first and second mouth openings and the top of the dart tip, with the first and second eye socket indents penetrating partially into the dart tip and an interior boundary wall formed between each one of the first pair of eye socket indents and each respective oppositely located one of the second pair of eye socket indents. The first and second pairs of eye socket indents and the respective first and second mouth openings form a face configuration on the opposing sides of the dart tip.