Firingmechanism

Patents tagged Firingmechanism

Apr 28, 2026

US12612150 - Pyrotechnic devices and firing mechanisms for aircraft canopy jettison

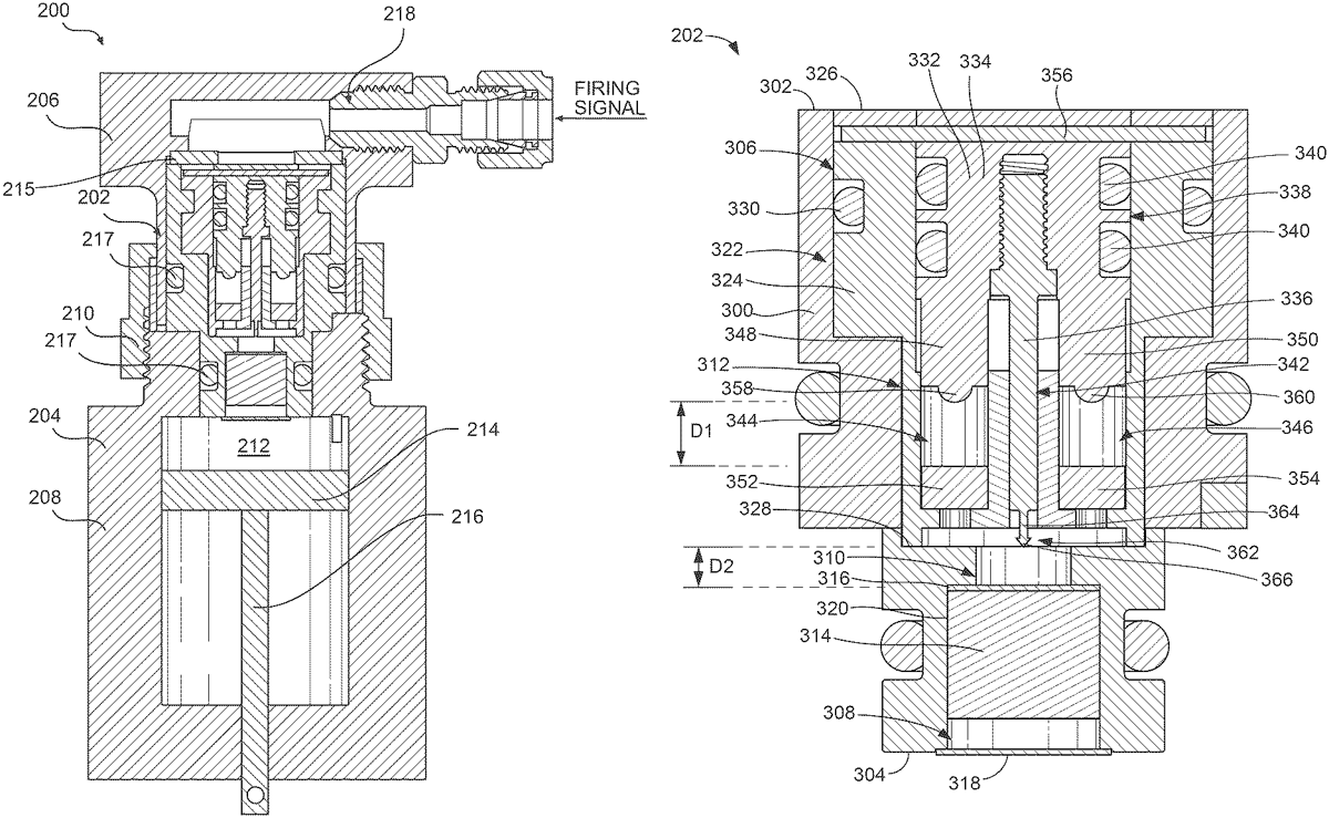
Pyrotechnic devices and firing mechanisms for aircraft canopy jettison are disclosed herein. An example firing mechanism includes a housing defining a first bore, a second bore, and a channel between the first bore and the second bore, a primary charge disposed in the second bore, a closure disc between the second bore and the channel, and a firing pin assembly disposed in the first bore. The firing pin assembly includes a percussion primer and a firing pin piston including a piston body, a firing pin extending from the piston body, and a piercing pin extending from the piston body. In response to a firing signal, the firing pin piston is moved toward the primary charge such that the piercing pin punctures the closure disc and the firing pin engages the percussion primer to ignite the primary charge.