Eeds

Patents tagged Eeds

Apr 7, 2026

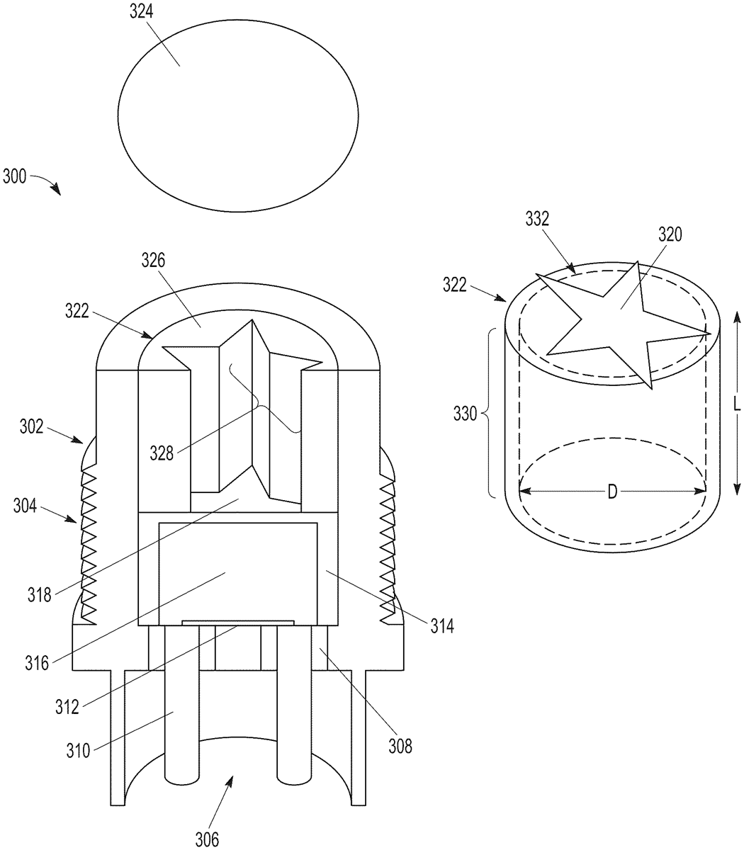
US12595990 - Main charge holder for electro-explosive devices (EEDs)

The header of an EED is redesigned to increase stiction forces to better hold the main charge throughout deflagration. The header includes a main charge holder, integrally formed or as a discrete component, that has internal structure that is press fit to a complementary outer surface of the main charge. The contact area between the internal structure and the main charge being greater than the contact area between a cylinder that circumscribes the internal structure (the uniform cylindrical shape of a typical EED contact area of π*D*L) to increase stiction forces between the main charge holder and the main charge. For a given diameter and length, the inclusion of the internal structure will reduce the mass of the main charge.