Circuit

Patents tagged Circuit

Mar 24, 2026

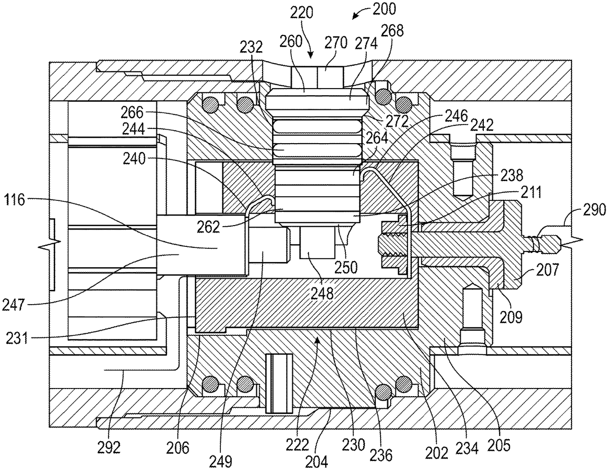
US12584386 - Perforating gun with detonation module

An apparatus for selectively firing a perforating gun having a plurality of gun assemblies may include an end plate, a portion of a signal communication circuit, an initiator assembly, and an initiating element. The end plate has a cavity formed by at least a first passage intersecting a second passage. The first passage extends from a planar end face of the end plate and the second passage extends from a circumferential surface of the end plate. The portion of a signal communication circuit is disposed in the end plate and conveys signals between the first gun and the second gun. The initiator assembly is at least partially disposed in the first passage. The initiating element is sized to pass through the second passage. The initiating element is also configured to electrically couple to the portion of the signal communication circuit and to thermally couple to the initiator assembly when at least partially seated in the first passage.