Booster

Patents tagged Booster

Apr 14, 2026

US12601557 - Quick coupling muzzle booster and surpressor adaptor system for locked breech pistols and pistol caliber carbines

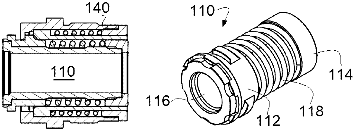
The present invention provides a quick coupling muzzle booster and suppressor adaptor system having a quick coupling muzzle booster and suppressor adaptor and direct rifle mount that can be coupled to a suppressor and mounted on a lock breech pistol or pistol caliber carbine. The system according to the invention provides wherein the quick coupling muzzle booster includes a booster slide with an external quick connect for coupling to the suppressor adaptor, and wherein the external quick connect of the booster slide includes a plurality of lugs corresponding to a proximal end of a housing of the suppressor coupling, and wherein the muzzle booster includes a booster piston that is coupled to a pistol. The system according to the invention may provide wherein the muzzle booster includes a booster piston nut with a spring, wherein the booster piston nut is coupled to the booster piston.