Bolt Carrier

Patents tagged Bolt Carrier

Nov 18, 2025

US12474132 - Enhanced bolt carrier assembly

A bolt carrier assembly having a bolt carrier with at least one gas exit hole located at the bottom of the bolt carrier so as to allow the passage of gas generated from a discharged round of ammunition downward into the magazine and magazine well of a firearm, away from the user.

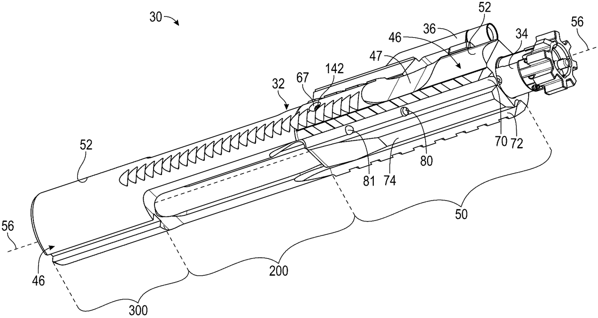
Jul 29, 2025

US12372317 - Bolt carrier with gas exhaust pocket

A bolt carrier for gas impingement rifles equipped with a sound suppressor mechanism. The bolt carrier is configured to tortuously direct gas to a gas exhaust pocket and into a magazine well of the gas impingement rifle, thereby lessening ejection port light signature and significantly reducing the peak noise in the vicinity of the firer's ears. The gas exhaust pocket of the bolt carrier also improves the operator air quality and reduces bolt lug and chamber fouling associated with the other devices that have attempted to address the noise problem.

Jun 24, 2025

US12339083 - Firearm, an upper receiver and a bolt carrier

A firearm, comprises a bolt carrier group comprising a bolt carrier and a bolt, an upper receiver configured to carry the bolt carrier; a magazine well configured to receive a magazine; wherein the magazine is configured to house cartridges and comprise a spring exerting a force to the cartridges from the magazine towards the bolt carrier group; and a reverse movement of the bolt carrier group is configured to unload a used cartridge from the bolt and a forward movement of the bolt carrier group is configured to load a new cartridge from the magazine. The upper receiver comprises at least two receiver contact surfaces at a region defined by the bolt carrier group trajectory and the magazine well; a first receiver contact surface is at a first positive inclined angle against the force exerted by the spring, via the cartridge, to the bolt carrier group.

Jun 24, 2025

US12339085 - Customizable firearm system

A customizable firearm system includes a chassis. A barrel assembly is disposed in the chassis. The barrel assembly including a trunnion and a barrel nut assembly. The barrel nut assembly includes an outer barrel nut sleeve and an inner barrel nut sleeve receiving a barrel. The barrel nut assembly is removably disposed in the trunnion. A bolt carrier assembly is disposed in the chassis. The bolt carrier assembly includes a backplate assembly and a pair of guide rods. Each of the guide rods have a first end disposed in the backplate assembly, and a second end disposed in the trunnion. A bolt carrier slidably disposed on the guide rod.

Apr 29, 2025

US12287167 - Firearm

A firearm is disclosed. The firearm contains a lower receiver containing a first opening, wherein the first opening is configured to accommodate a firing mechanism, an upper receiver removably coupled with the lower receiver, a barrel removably coupled with the upper receiver, a bolt carrier assembly positioned within the upper receiver, wherein the bolt carrier assembly is movable between a locked position and an unlocked position, wherein the bolt carrier assembly contains a rear surface, wherein the rear surface of the bolt carrier assembly is positioned between the barrel and the first opening when the bolt carrier assembly is in the locked position.