Bluntimpact

Patents tagged Bluntimpact

Apr 28, 2026

US12613083 - Configuration for spin stabilized less lethal munitions

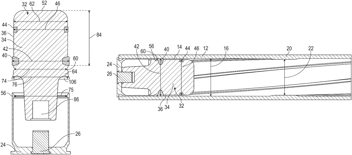
A blunt impact munition cartridge for firing from a barrel having grooves defining a first bore diameter and lands defining a lesser second bore diameter. The cartridge comprises a case that has a propellant and defining a forward case mouth, and an elastomeric projectile. The projectile has a body portion having a cylindrical sidewall configured to be closely received in the barrel. The projectile includes a first polymeric ring encircling the body portion and has a first ring diameter. The projectile includes a second polymeric ring encircling the body portion and having a second ring diameter different from the first diameter.