Baton

Patents tagged Baton

Mar 17, 2026

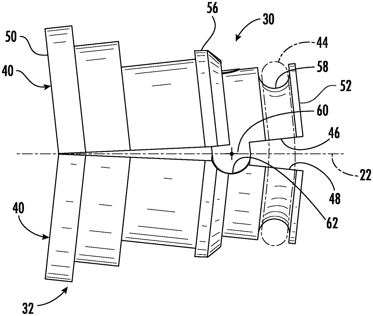
US12578163 - Locking assembly for telescoping baton

A locking baton includes an outer tube having an inner circumferential surface with an outer locking groove. The baton also includes an inner tube telescoping within the outer tube and having an inner circumferential surface with an inner locking groove on its inner circumferential surface. A locking assembly is on the inner tube for selectively locking the inner tube to the outer tube. A manually actuatable release rod extends axially through the tubes for unlocking the locking assembly. The locking assembly includes four locking wedges each having an outer locking flange for selectively engaging the outer locking groove and an inner locking flange for engaging the inner locking groove. Each locking wedge has a pivoting rib that cooperates with a pivoting groove on an adjacent locking wedge to provide pivoting movement of each locking wedge to move its outer locking flange into engagement with the outer locking groove.