Base Pad

Patents tagged Base Pad

Jun 10, 2025

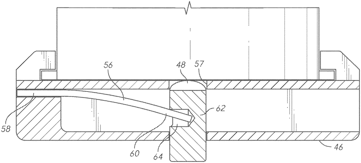
US12326314 - Gun magazine base pad with cantilever spring latch mechanism

A firearm magazine base pad having a significantly reduced overall height. The base pad is slidably engaged to the bottom of the magazine tube-thereby securing a magazine spring and follower inside the tube. A plunger latch mechanism is provided to lock the base pad in place. The plunger can be depressed in order to release the base pad and allow it to slide free of the magazine tube. The plunger is biased upward by a lateral cantilever spring. A fixed end of the cantilever spring is attached to the base pad. A free end of the cantilever spring moves with the plunger.