Barrelnut

Patents tagged Barrelnut

Apr 14, 2026

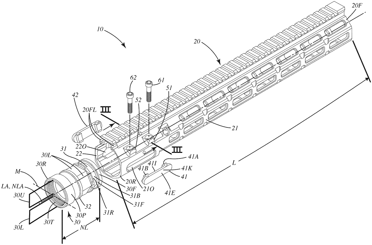
US12601562 - Barrel nut handguard system

A barrel nut handguard system can include a handguard with a sidewall defining a bridge opening extending to a handguard interior, a barrel nut defining a registration groove around a periphery of the barrel nut, and a connector bridge in the bridge opening so that a contact surface engages the first registration groove. A fastener extending between the connector bridge and handguard can be tightened so the barrel nut is clamped between the contact surface and the handguard interior. The contact surface can fit between walls of the registration groove and prevent fore to aft sliding of the handguard relative to the barrel nut. The barrel nut can include tool lands allowing tooled rotation of the barrel nut relative to a receiver of a firearm to secure a barrel to the receiver with the barrel nut, without requiring rotational indexing of the barrel nut relative to the receiver.