Airsoft

Patents tagged Airsoft

Mar 24, 2026

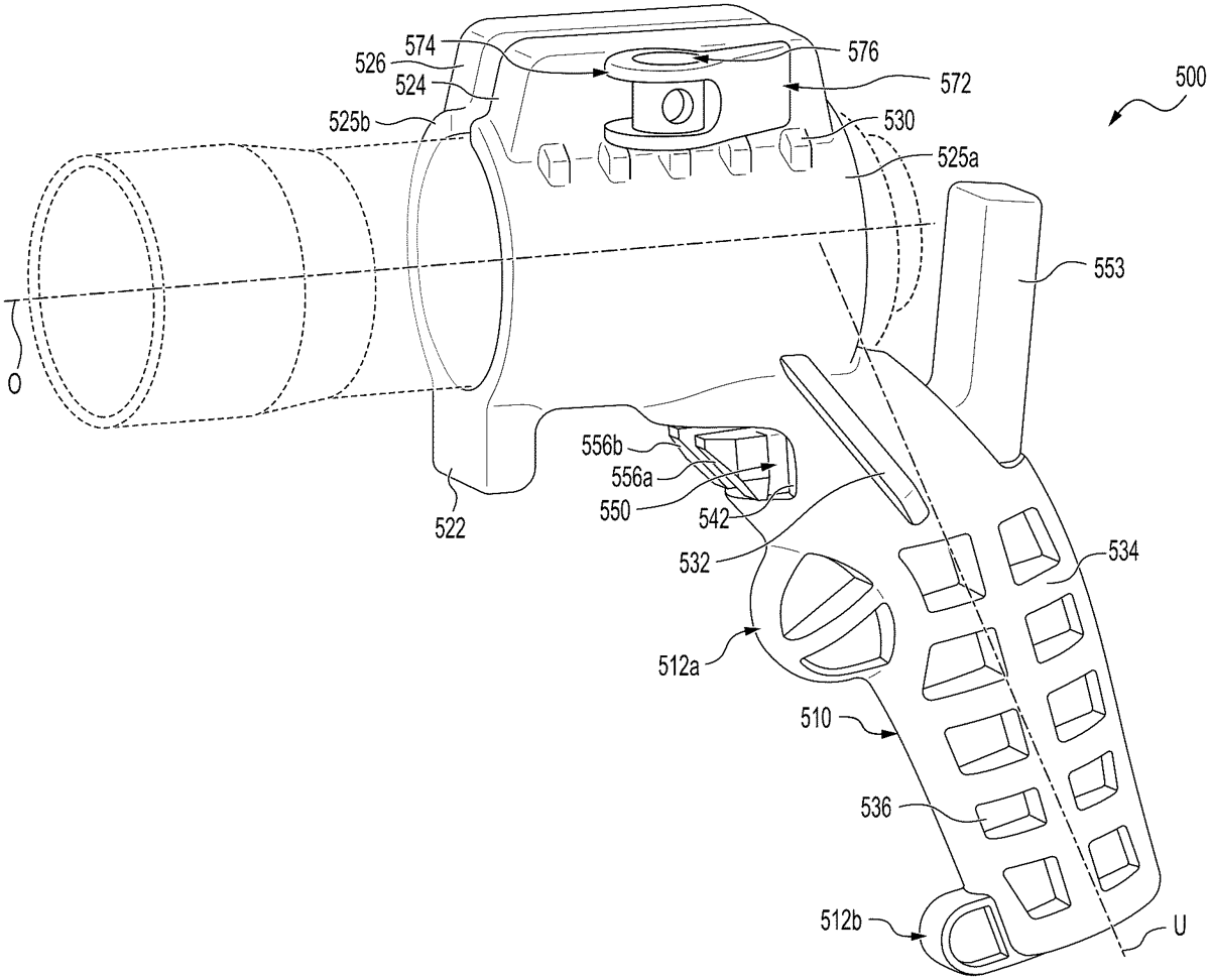
US12584618 - Flashlight grip

Disclosed embodiments may include devices and methods for a flashlight grip. The flashlight grip may include a handle with a mount configured to hold a flashlight. The mount may include a first mounting portion coupled to the handle and a second mounting portion coupled to the handle. The second mounting portion may be positioned opposite the first mounting portion. The first mounting portion and the second mounting portion may form a cavity. The flashlight grip may further include one or more connectors extending through the first mounting portion and the second mounting portion that may be used to tighten the first mounting portion and second mounting portion, thereby securing a flashlight in between the first mounting portion and the second mounting portion.