Agent

Patents tagged Agent

Feb 10, 2026

US12546572 - Distributing deployments in a conducted electrical weapon

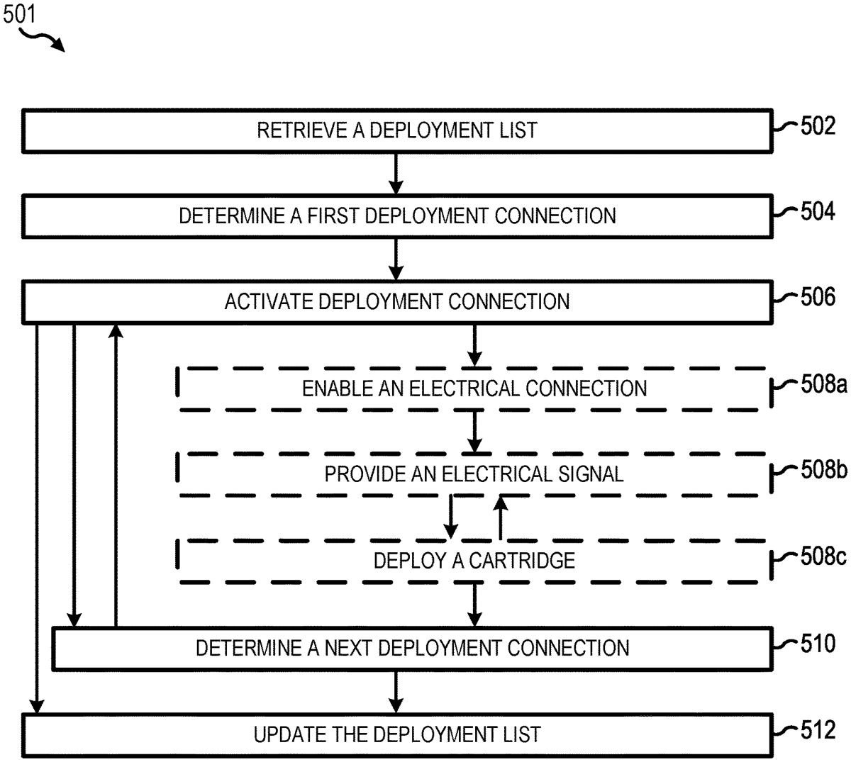
A conducted electrical weapon (“CEW”) may distribute deployments from the CEW across a same activation event and across different activation events. The system may distribute deployments based on a deployment list. The deployment list may define a sequential deployment order for a deployment connections of the CEW. The system may determine a next deployment connection and activate the next deployment connection based on the deployment list. The system may update the deployment list responsive to activations of deployment connections such that the deployment list is sequentially maintained between activation events.