Firearms and Ammunition Patent Grants

Weekly firearms and ammunition patent grants.

Jun 24, 2025

US12338718 - Orienting perforation gun assembly

A perforating gun assembly that orients one or more shaped charges within a well includes a housing and an orienting internal assembly configured to be disposed within a longitudinal bore of the housing. The orienting internal assembly may include at least one shaped charge holder or charge tube, a rotation support system, a detonator holder and/or a detonator. The rotation support system may be configured so that the detonator holder and/or detonator rotate together as a whole with the at least one shaped charge holder or charge tube. The rotation support system may include at least one bearing assembly, a plurality of rollers, or combinations thereof. The orienting internal assembly may be configured for gravitational orientation.

firearm perforating shaped_charge
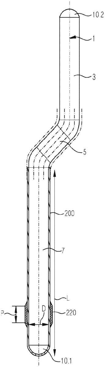
Jun 24, 2025

US12339079 - Firearm

A firearm is proposed, with an optical safety marking ( 9.1, 9.2, 9.3, 9.4, 9.5, 9.6 ) provided on the firearm ( 1 ) for clearly indicating the safety state of the firearm ( 1 ). In order to increase the safety of the firearm ( 1 ), it is proposed for the safety marking ( 9.1, 9.2, 9.3, 9.4, 9.5, 9.6 ) to be embodied as phosphorescent and/or fluorescent and/or radioluminescent and/or bioluminescent.

firearm safety optical
Jun 24, 2025

US12339080 - Safety mechanism for a pistol

The present disclosure relates to an automatic or semiautomatic pistol including a slide and a magazine. The magazine feeder includes an actuator that controls a slide stop. The slide stop, located rearward of the magazine, is designed to switch from a low to a high position. In its high position, the slide stop locks the slide in a rearward position. The pistol also includes a control lever for the slide stop, which is attached at one end to rotate about a pin forward of the magazine. The control lever includes a feeler that is lifted by the control actuator when the magazine is empty, causing the slide stop to switch from its low to high position. The slide stop may have ambidextrous manual releases rigidly connected to each other across the pistol.

pistol safety mechanism
Jun 24, 2025

US12339081 - AK fire control mechanism

In some embodiments, a fire control mechanism comprises a hammer, a trigger and a safety. The hammer is rotatable about a hammer axis. The trigger is rotatable about a trigger axis and arranged to contact the hammer. The safety is arranged to interfere with rotation of the trigger. The safety comprises a second portion moveable with respect to a first portion.

firearm mechanism trigger safety
Jun 24, 2025

US12339082 - Suppressor attachment system

A disclosed attachment system for a energy suppression device may include an energy suppression device and an attachment mechanism secured to the energy suppression device. The attachment device may include a first lever and a second lever, the first lever may be rotatable with respect to the second lever such that the first lever may apply a force against the second lever when in a locked position and the force may be reduced when the first lever is moved to an unlocked position. The first lever may have a slot having a width that tappers from a first end of the slot to a second end of the slot. The slot may be configured to receive a tool to apply additional force to move the first lever from the locked position to the unlocked position.

suppressor firearm attachment
Jun 24, 2025

US12339083 - Firearm, an upper receiver and a bolt carrier

A firearm, comprises a bolt carrier group comprising a bolt carrier and a bolt, an upper receiver configured to carry the bolt carrier; a magazine well configured to receive a magazine; wherein the magazine is configured to house cartridges and comprise a spring exerting a force to the cartridges from the magazine towards the bolt carrier group; and a reverse movement of the bolt carrier group is configured to unload a used cartridge from the bolt and a forward movement of the bolt carrier group is configured to load a new cartridge from the magazine. The upper receiver comprises at least two receiver contact surfaces at a region defined by the bolt carrier group trajectory and the magazine well; a first receiver contact surface is at a first positive inclined angle against the force exerted by the spring, via the cartridge, to the bolt carrier group.

firearm bolt carrier upper receiver magazine
Jun 24, 2025

US12339084 - Firearm platform and method of connecting upper and lower receivers

A firearm platform and method of connecting an upper receiver to a lower receiver. The upper receiver has a pivot lug and a takedown lug with perimeter openings in opposite directions. The lower receiver has a locking member that pushes against the takedown lug which causes the upper receiver to displace forward. As a result of the forward displacement, a pivot pin in the lower receiver exerts an opposing force against the pivot lug. The locking member is displaced between a locked and unlocked position through a lever located on an exterior surface of the lower receiver. When the locking member is in the locked position, the lower receiver and uppers receiver form a connection that is tight and free from slop.

firearm receiver mechanism
Jun 24, 2025

US12339085 - Customizable firearm system

A customizable firearm system includes a chassis. A barrel assembly is disposed in the chassis. The barrel assembly including a trunnion and a barrel nut assembly. The barrel nut assembly includes an outer barrel nut sleeve and an inner barrel nut sleeve receiving a barrel. The barrel nut assembly is removably disposed in the trunnion. A bolt carrier assembly is disposed in the chassis. The bolt carrier assembly includes a backplate assembly and a pair of guide rods. Each of the guide rods have a first end disposed in the backplate assembly, and a second end disposed in the trunnion. A bolt carrier slidably disposed on the guide rod.

firearm customizable chassis barrel
Jun 24, 2025

US12339086 - Hydraulic dampened high mass rotary barrel recoil system for handgun

A hydraulically dampened rotary barrel locking system for a handgun is provided which preferably includes a receiver, a barrel and a spring-loaded moveable slide. The barrel comprises one or more axially aligned locking lugs configured to allow the slide to travel down the barrel axis when the lugs align with a keyway slot in an extended lug boss at the discharge end of the slide. Felt recoil is reduced and accuracy is improved due to a more balanced slide-to-barrel mass ratio than prior art and hydraulic dampening between the barrel and slide due to improved journal bearing action.

handgun recoil locking mechanism
Jun 24, 2025

US12339087 - Gas block for a firearm

A gas block for a firearm may include a body, a barrel bore extending from a first end to a second end of the body and configured to receive a portion of a barrel therein, a gas tube bore extending from the first end toward the second end and configured to receive a portion of a gas tube therein, a gas port extending from the barrel bore to the gas tube bore, and an alignment aperture extending from the gas tube bore to a top side of the body and coaxial with the gas port, with the alignment aperture being configured to allow visualization of alignment of the gas port with a barrel gas port of the barrel.

gas block firearm mechanism
Jun 24, 2025

US12339088 - Spool valve assembly for air gun

An air gun includes a barrel through which a projectile is fired, and a chamber fluidly connected to the barrel. The air gun also includes a valve assembly including a valve body, a primary spool, and a secondary spool.

Jun 24, 2025

US12339089 - Line launchers

A line launcher includes a launcher body extending along a longitudinal axis between a rear end and a front end. The line launcher further includes a handle, a trigger, and a removable battery. The line launcher further includes a compressed gas charge assembly. The line launcher further includes an elongated barrel coupled to the body at the front end. The line launcher further includes a throwline assembly, the throwline assembly including a projectile and a throwline, the projectile insertable into and ejectable from the elongated barrel.

Jun 24, 2025

US12339090 - Device for fixation of tension of resilient elements of a compound bow

A tension fixation device for a compound bow. The tension fixation device includes an engagement device, a hitch lock, and a retainer stopper. The engagement device is formed as a disk, fixed to pulleys of the compound bow, and rotatable therewith. The disk includes a recess and a protrusion. The hitch lock is configured, during tensioning of the compound bow, to engage and disengage from the engagement device. Upon storing a desired tension in a resilient element of the compound bow, the hitch lock is configured to engage the recess in the engagement device thereby to prevent rotation of the pulleys to release the tension in the bow. The retainer stopper is mounted onto the body of the bow, and is configured to prevent motion of the hitch lock, until the retainer stopper is released.

Jun 24, 2025

US12339091 - Crossbow with movable trigger latch block

A crossbow with a movable trigger latch block. The crossbow has a trigger latch block slidingly connected to the flight track. The trigger latch block is configured to engage and retain the bowstring. A cocking mechanism is configured to draw the trigger latch block with the bowstring from an initial position near a forward end of the flight track to a cocked position. A one-way retention mechanism is configured to immobilize the trigger latch block against linear movement in a forward direction along the flight track. A trigger-traverse mechanism is configured to slide the trigger latch block in a forward direction to its initial position after the bowstring is released.

Jun 24, 2025

US12339092 - Arrow rest with decoupled launch assembly

An arrow rest with a decoupled launch assembly comprises a rest rotatably mounted to a shaft and coupled to the shaft via a biasing device. An actuator connects the shaft to a portion of a bow allowing movement of the bow to actuate the decoupled launch assembly between a raised state and dropped state by rotation of the shaft. The biasing device flexibly couples movement of the rest and shaft permitting the shaft to further rotate after a dropped state has been achieved.

Jun 24, 2025

US12339093 - Recoil pad assembly

A recoil pad for a firearm including at least two distinct lattice layers wherein at least one of the lattice layers is comprised of a gyroid structure designed to optimize the dissipation, redirection, absorption, and other effect of the felt recoil generated by shooting a firearm, and a protector for the recoil pad to minimize pressure placed on the recoil pad and prevent deformation, misalignment, warping, undesired compression, and damage when the firearm that the recoil pad is coupled with is transported and/or stored without removing the recoil pad.

recoil firearm accessory
Jun 24, 2025

US12339094 - Attaching a grip attachment or other attachment in a recoil environment at threadless region(s)

In various embodiments, an apparatus to operate in a recoil environment includes an attachment configured to slidable couple to a firearm, the attachment including a threadless region to couple to one or more corresponding threadless regions of at least one part: wherein the attachment includes: a slidable attachment interface to restrict a coupling movement of the attachment relative to the at least one part, to a fore/aft movement; and an additional interface associated with a plunger or other retaining part, the additional interface to restrict a fore/aft position of the attachment relative to the at least one part. Other embodiments may be disclosed and/or claimed.

firearm grip attachment recoil
Jun 24, 2025

US12339095 - Sling-attached squeeze bags, slings for sling- attached squeeze bags, shoulder-fired projectile weapons that utilize sling-attached squeeze bags, and related methods

Sling-attached squeeze bags, slings for sling-attached squeeze bags, shoulder-fired projectile weapons that utilize sling-attached squeeze bags, and related methods. The squeeze bags include a cover material that defines an enclosed bag volume. The squeeze bags also include a sling-receiving region that is sized to receive a sling strap of a sling of the shoulder-fired projectile weapon and a particulate fill-material positioned within the enclosed bag volume. The slings include a sling strap that defines a bag-receiving strap region configured to be received within a sling-receiving region of a sling-attached squeeze bag, a first attachment strap extending from a first end region of the sling strap, and a second attachment strap extending from the first end region of the sling strap. The slings also include a first sling-attachment structure operatively attached to the first attachment strap and a second sling-attachment structure operatively attached to the second attachment strap.

squeeze bags shoulder-fired projectile weapons
Jun 24, 2025

US12339096 - Apparatus for storing and dispensing propellant, a bullet, and a primer for a muzzleloader

A quick loader includes a propellant tube, a main loader body, a funnel valve, and a funnel tube. The funnel valve features a channel that connects the main loader body to the funnel tube, allowing propellant to flow therethrough when open. The funnel valve is coupled to the main loader body by a hinge on a metal pin that enables free rotation around a fixed axis. The funnel valve further features a gasket that covers an outlet of the main loader body when not in use and prevents water from entering the propellant tube. In some embodiments, the quick loader further includes a bullet compartment and a primer holder, configured respectively to hold a bullet and a primer that are accessible with one hand for quick and silent use in the field.

muzzleloader propellant quickloader
Jun 24, 2025

US12339097 - System and method of digital focal plane alignment for imager and weapon system sights

A weapon system has an optical sight mounted to a weapon and a frame with a sight window that is configured to superimpose a reticle that is visible through the sight window in a first focal plane. An optoelectronic device is mounted to the weapon and includes an imager with a sensor array and a display device. An image processor is configured to receive image data captured by the sensor array and process the image data to generate a subset image that is received from a select region of the sensor array. The select region of the sensor array defines a second focal plane. A controller is configured to receive an input from an operator, and in response to the input, to select the select region of the sensor array for aligning the second focal plane with the first focal plane.

Jun 24, 2025

US12339098 - Enclosed reflex sight for firearms, assembly, system and method

The disclosure is related to an enclosed reflex sight for one or more firearms. The enclosed reflex sight may be provided as part of an assembly including a mounting interface. The enclosed reflex sight includes a rearward bottom portion that houses an adjustment assembly, wherein the rearward bottom portion includes a lowermost surface of the enclosed reflex sight. The enclosed reflex sight includes an upper bottom surface forward of the rearward bottom portion of the enclosed reflex sight, the upper bottom surface comprising an abutment surface for the mounting interface. When the assembly is secured to an upper mounting surface of a firearm then the lowermost surface of the rearward bottom portion of the enclosed reflex sight is closer to the upper mounting surface of the firearm than the upper bottom surface of the enclosed reflex sight.

firearm sight accessory
Jun 24, 2025

US12339099 - Point blank delta scope reticle

A point blank delta scope reticle, wherein all range and yardage solutions (horizontal x) may be removed and/or ignored and only the vertical Y component is utlized. A vital zone of a target is viewed as a Y value and a ballistic curve can be calculated that will pass thru the determined Y value. The Y value becomes a constant in all calculations. The constant then yields one or more unique ratios that all ammunition follows since the vertical Y component is the constant. The aiming reticle includes a reticle and one or more subsequent or successive reference marks formed in an aligned fashion between the reticle and a last reference mark, wherein a relative distance between each adjacent pair of the subsequent or successive reference marks decreases as the subsequent or successive reference marks are formed from the reticle to the last of the subsequent or successive reference marks.

scope reticle firearm aiming
Jun 24, 2025

US12339100 - Auxiliary aiming device

An auxiliary aiming device includes a main body, a digital sight with a digital rearsight, and a ballistic compensation system. The digital sight and the ballistic compensation system are arranged at the main body. The ballistic compensation system includes a range finder, a main control unit, an image processor, an image sensor and a display device. The range finder is configured to measure the target distance data of a shooting target and send the target distance data to the main control unit. The main control unit is configured to calculate a ballistic compensation based on the target distance data and a calibrated data scale, send the ballistic compensation to the image processor, and superimpose a recommended aiming position from the image processor onto a target image which is displayed on the display device. The image sensor is configured to obtain a target image.

Jun 24, 2025

US12339101 - Device to capture pressure data from a weapon's foregrip during live fire

A device to capture pressure data from a weapon's foregrip during live fire, the weapon having a Picatinny accessory rail, the device comprising a plurality of sensor bodies that are mountable to the Picatinny accessory rail, each sensor body having a pressure sensitive region that can capture pressure data placed on the pressure sensitive region, each sensor body having channels that correspond to the Picatinny accessory rail, retention latch system that attaches the sensor body to the weapon; and, a communication assembly that allows data communication between the plurality of sensor bodies and a computer.

firearm sensor data
Jun 24, 2025

US12339102 - Monocular scope device displaying virtual shooting targets

Shooting scopes displaying virtual shooting targets are envisaged. When a virtual shooting target is visualized and shot using the shooting scope attached to a firearm, a pre-programmed computer-based processing element cooperating with the shooting scope determines a theoretical gunshot trajectory based on the position and orientation of the firearm. The processing element correlates the theoretical gunshot trajectory with the information indicative of the positioning of the virtual shooting target and thereby determines the accuracy with which the virtual gunshot was fired. The processing element also determines the shooter's consistency based on the proximity between the points of impact for a predetermined number of shots fired by the shooter and the center of the virtual shooting target. Based on the shooter's accuracy and consistency, the complexity associated with the virtual shooting targets are varied, and such virtual shooting targets having varying complexities are presented to the shooter for target shooting practice.

Jun 24, 2025

US12339103 - Multilayer ballistic barrier and a method of making the multilayer ballistic barrier

A multilayer ballistic barrier comprising at least one barrier plate ( 1 ) having a thickness of up to 250 mm, made of an elastomeric material containing butadiene and a binder, and a fill ( 2 ) having a minimum thickness of 50 mm in the form of mineral aggregates of various fractions ranging from 0.5 to 80 mm. The application also relates to a method of making the multilayer ballistic barrier and its use for the construction of bullet-proof walls and floors intercepting projectiles with a kinetic energy up to 50 000 J.

Jun 24, 2025

US12339104 - Aerosol self-defense spray canister container

An aerosol self-defense spray canister container including a pistol grip shaped housing configured to house an aerosol self-defense spray canister. The housing defines a finger-receiving opening thorough which a user's pointer finger can securely grasp the container for use, and a grip handle around which one or more of the user's other fingers can grasp the container for use. The container also includes an aerosol dispenser housed within the housing and movable between an inactivated position and an activated position to selectively dispense an aerosol self-defense spray from the housed aerosol self-defense spray canister.

Jun 24, 2025

US12339105 - Target apparatus and method

A target apparatus including: a base; a V-shaped member having first and second ends, the second end connected to the base; a first cleat, configured to connect to one or more inflated balloons, fixed to the V-shaped member; wherein the V-shaped member includes first and second members; the first member having first and second edges; wherein the second member has a first and second edges; wherein the first edges of the first and second members are fixed together; wherein the second edges of the first and second members are separated by a gap; and wherein the first cleat is fixed to the V-shaped member so that at least part of the first cleat is between the first and second members. The target apparatus further includes a first ring fixed to the first V-shaped member so that at least part of the first ring is between the first and second members.

Jun 24, 2025

US12339106 - Fiber reinforced bullet and method of manufacture

Bullet constructed from FRP, preferably basalt. The method includes the step of forming pultruded basalt strands positioned co-axially before milling to form a conventional bullet shape. The process uses a 10 mm FRP rod held by a revolving collet that is interfaced with an upper diamond OD grinder and a lower diamond profile wheel. Gravity allows the rod to rest on a Teflon coated cut off wheel. The upper grinder draws the rod to an exact outer dimension and the lower grinder cuts the bullet to a perfect dimension. Linear slides move the cut off wheel and grinders in for the cutting process and out to allow the finished bullet to pass.

bullet ammunition manufacturing fiber_reinforced
Jun 24, 2025

US12339107 - Metallic, non-leaded projectile for muzzle-loading firearms and methods of making and using the same

A projectile for muzzle-loading firearms is made completely from a non-lead metal or alloy. It includes a pair of grooves to incorporate O-rings around a circular cylinder. A threaded well may be bored into the forward facing of the cylinder to facilitate insertion and/or removal of the projectile from the barrel via a cooperating ramrod. The projectile is then wrapped in a cloth patch to cover the sidewalls and bottom facing of the cylinder. A method of forming a plurality of the projectiles from standardized bar stock is also contemplated.

muzzleloading projectile non-lead firearm
Jun 24, 2025

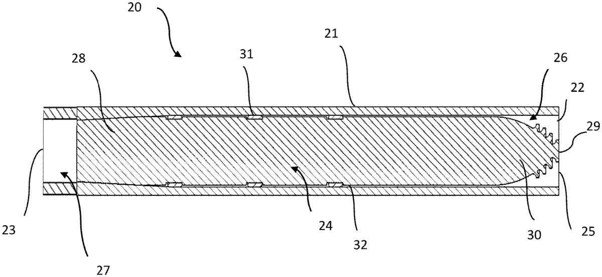
US12339108 - Sabot

The invention relates to a sabot ( 1 ) which comprises multiple sabot segments ( 1.1, 1.2, 1.3 ). The sabot ( 1 ) or the sabot segments ( 1.1, 1.2, 1.3 ) are characterized by having a structural design at an end ( 10 ) opposite the shooting direction such that a low degree of flexural rigidity is achieved at said end ( 10 ). A sabot ( 1 ) with three sabot segments ( 1.1, 1.2, 1.3 ) is preferred. The sabot ( 1 ) or the sabot segments ( 1.1, 1.2, 1.3 ) have a rear part ( 3 ) as a push part and a front part ( 4 ) as a pull part. In order to optimize the shape and weight, the front part ( 4 ) and the rear part ( 3 ) have recesses ( 5, 6 ) in the sabot ( 1 ) or in the sabot segments ( 1.1, 1.2, 1.3 ). Braces ( 8, 9 ) are integrated between the recesses ( 5, 6 ), or the recesses ( 5, 6 ) are introduced between braces ( 8, 9 ).

Jun 24, 2025

US12339109 - Bullet feeder device

An improved bullet feeder and seating die device for progressively inserting bullets into mouths of cartridge casings is disclosed. The bullet feeder device includes a seating die having a main die body having a threaded portion and a clearance cut and a passageway extending through the threaded portion to a bore of the main die body. A die lock having a threaded inner surface is provided to receive the threaded portion of the main die body. The die lock has a clearance slot alignable with the clearance cut in the main die body. A feed assembly is provided to sequentially supply bullets to the seating die and a activation assembly is provided to operate the feed assembly. A mounting assembly is provided to hold the seating die, feed assembly and a activation assembly together.

bullet feeder ammunition seating die
Jun 24, 2025

US12339110 - Ammunition magazine pouch and methods of assembling same

A method of manufacturing an ammunition magazine pouch is described herein. The pouch includes an interior surface defining a magazine chamber configured to receive an ammunition magazine therein. The method includes thermoforming a front cover member from a first sheet of thermoplastic material and thermoforming a back plate member from a second sheet of thermoplastic material. The method also includes stitching the back plate member to an attachment assembly and coupling the front cover member to the back plate member to define the magazine chamber therebetween extending between an open top end and a closed bottom end. The method also includes coupling a tensioning assembly to the front cover member and the back plate member to adjust a distance between an upper portion of the front cover member and an upper portion of the back plate member to adjust a width of the open top end of the magazine chamber.

ammunition magazine pouch manufacturing
Jun 24, 2025

US12339111 - Ignition arrangement for multiple pyrotechnic articles

Disclosed is an ignition arrangement for multiple pyrotechnic articles, which includes a moulded body including a housing for an igniter cord, and also including sides and partitions. The housing is formed by pairs of parallel ribs separated from one another, the ribs of each pair being joined under the igniter cord, thus forming the bottom of the moulded body. Aligned openings are provided in the igniter cord, having inclined opposing surfaces that converge transversely towards the inside of the igniter cord, such as to channel the ignition sparks scattered in the arrangement towards an area of an ignition fuse held against a corresponding opening, such that the fuse is ignited from the igniter cord and ignition spreads to a pyrotechnic element located outside the moulded body.

Jun 24, 2025

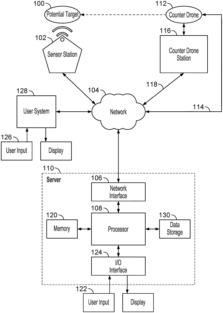
US12341604 - Counter measure effector with smart sight

The present disclosure relates to a counter measure effector ( 100 ) for targeting unmanned aerial vehicles (UAVs), said counter measure effector comprising: at least one antenna ( 108, 109 ) for selectively emitting electromagnetic radiation; a telescopic sight ( 126 ) comprising an optical system that is transferrable between a first state, in which the optical system has a first appearance, and a second state, in which the optical system has a second appearance that is different from the first appearance, wherein the counter measure effector ( 100 ) is configured to set the optical system in its first state, when the at least one antenna is activated, and in its second state, when the at least one antenna is de-activated.

Jun 17, 2025

US12329219 - Traumatic brain injury protection devices

A collar sized to be worn around the neck of a human subject has at least one member that defines an arc of less than 360° and greater than 180° having a diameter, a first compressor at a first end of the arc, a second compressor at a second end of the arc and a bend angle sensor. The collar is adapted to exert an inwardly-directed force on the first and second compressors when worn. The bend angle sensor is configured and positioned to detect a bend angle of the collar, wherein the bend angle correlates to the inwardly-directed force on the first and second compressors when worn.

Jun 17, 2025

US12329270 - Combination backpack and quiver

A combination backpack and quiver apparatus includes a backpack, a quiver, a planar insert and first and second quiver mounting rods. The planar insert is received in an outer pocket of the backpack. The insert includes a plurality of elongated quiver mounting receptacles extending substantially parallel to an insert length, the quiver mounting receptacles being spaced apart across an insert width. The quiver includes a hood, first and second elongated quiver rails extending from the hood, and at least one resilient arrow holder mounted on the rails and including a plurality of laterally open arrow receiving recesses defined in the resilient arrow holder. The first and second quiver mounting rods are received in first and second ones of the quiver mounting receptacles and are attached to the at least one resilient arrow holder to mount the quiver on the backpack.

Jun 17, 2025

US12330782 - Steerable rotating projectile

A method for controlling a flying projectile which rotates during flight, comprising: determining an angle of rotation of an inertial mass spinning about an axis during flight, and controlling at least one actuator for altering at least a portion of an aerodynamic structure, selectively in dependence on the determined angle of rotation and a control input, to control aerodynamic forces during flight. An aerodynamic surface may rotate and interact with surrounding air during flight, to produce aerodynamic forces. A sensor determines an angular rotation of the spin during flight. A control system, responsive to the sensor, produces a control signal in dependence on the determined angular rotation. An actuator selectively alters an aerodynamic characteristic of the aerodynamic surface in response to the control signal.

Jun 17, 2025

US12332005 - User authentication at an electromechanical gun

The present disclosure provides systems and techniques for authenticating a user at gun. The gun may include an authentication manager capable of implementing logic, processing signals, or executing instructions. The authentication manager may receive first query data from a first authentication sensor of the gun, receive second query data from a second authentication sensor of the gun, perform an authentication procedure to determine whether the first query data or the second query data matches enrollment data, where a match is determined based on the first query data or the second query data and the enrollment data satisfying a similarity threshold. The authentication manager may determine that the user is authorized to operate the gun and transmit a signal in response to the determining that the user is authorized to operate the gun. The signal may cause the gun to enter an active state which allows the gun to be fired.

user_authentication electromechanical firearm
Jun 17, 2025

US12332006 - Firearm magazine retention system with positive positioning feature

A firearm magazine retention and release system providing a motion-limiting engagement between a firearm and a magazine. The magazine is provided with a catch opening. The firearm is provided with a magazine catch having a protrusion positioned to engage the catch opening. The protrusion includes one or more sloping surfaces that provide a greater vertical engagement as the protrusion is urged further into the catch opening. The result is that the protrusion engages one or more edges of the catch opening—thereby inhibiting vertical travel of the magazine with respect to the firearm.

firearm magazine retention system
Jun 17, 2025

US12332007 - Trigger block

A plurality of trigger blocks are described. Embodiments of the trigger block can be implemented as a collapsible trigger block adapted to shroud a trigger to aid in preventing accidental discharges of a firearm. The collapsible trigger block can implement a linear ratchet assembly and a stop to secure the collapsible trigger block inside a trigger guard of a firearm.

trigger firearm safety
Jun 17, 2025

US12332008 - Firearm suppressor integrated with handguard

A suppressor assembly for a firearm having a receiver and a barrel connected to the receiver which includes a tube adapted to be coupled to the receiver and which serves as the handguard for the firearm. The tube circumferentially encloses and extends along the barrel and defines ports arranged proximate to the receiver and apertures arranged near the muzzle end. Near the ports is a modulator that adjusts the openings of the ports. Coupled to the end of the tube is noise suppression tube wherein orifices to vent propellant gases and a baffle assembly is disposed. Propellant gases expand within the expansion volume and exit the suppressor through the ports, the apertures, the orifices and through the opening for the bullet in the end cap.

firearm suppressor handguard
Jun 17, 2025

US12332009 - Arrangement of an elevation device for a vehicle mounted weapon system

The present invention relates to an arrangement for an elevation device of a vehicle mounted weapon system. The weapon system comprise a weapon and a feeding chute. Said elevation device is arranged to allow elevation movement of the weapon about an elevation axis. Said elevation is performed in connection to sides of said elevation device about said elevation axis. Said feeding chute is configured to be arranged in connection to one side. Said arrangement comprises an arc-shaped sector bearing device of a bearing configuration for facilitating said elevation. Said bearing device is arranged in connection to a front portion at said one side at a radial distance from said elevation axis so as to provide space for said feeding chute on said one side in connection to said elevation axis. The invention also relates to a vehicle with an arrangement according to the present invention.

vehicle weapon elevation ammunition
Jun 17, 2025

US12332010 - Weapon slide cover

The present disclosure provides systems and techniques that can be implemented in a gun. The gun may include or be coupled with a slide cover. The slide cover may include a first slide cover recess along a latitudinal axis of the slide cover, the first slide cover recess comprising a first cavity of a first portion of the slide cover and a first cavity of a second portion of the slide cover. The slide cover may include a second slide cover recess along the latitudinal axis of the slide cover, the second slide cover recess comprising a second cavity of the first portion of the slide cover and a second cavity of the second portion of the slide cover. The slide cover may include a first retainer coupling a sight component with the slide cover such that a longitudinal axis of the sight component is substantially parallel with a longitudinal axis of the slide cover.

firearm slide gun accessory
Jun 17, 2025

US12332011 - Inert launch control simulator

An electronic device ( 210 ) is provided for simulating launch activation of a missile. The missile has a rocket motor and a payload. The device connects to a launch controller ( 380 ) for the motor and an ordnance controller ( 390 ). The device includes a direct current (DC) power supply ( 220 ); a circuit board ( 440 ); a payload jack ( 340 ); and data jacks ( 350, 360 ). The circuit board ( 440 ) includes a voltage regulator ( 570, 580 ), a thrust vector control (TVC) circuit ( 510 ), input, output and power plugs ( 550, 560, 590 ). The power plug ( 590 ) connects to the power supply ( 220 ). The payload jack ( 340 ) connects the output plug ( 560 ) to the ordnance controller ( 390 ) and to the TVC circuit ( 510 ). The output data jack ( 350 ) connects the circuit board ( 440 ) to the ordnance controller ( 390 ). The input data jack ( 360 ) connects the circuit board ( 440 ) to the launch controller ( 380 ). The circuit board ( 440 ) receives a signal from the launch controller ( 380 ) to which said ordnance controller ( 390 ) responds.

Jun 17, 2025

US12332012 - Gas-operated firearm

A gas-operated firearm has a frame, a barrel defining a bore having a forward muzzle end and an opposed rear end defining a chamber, a bolt assembly received in the frame and operable to reciprocate between a battery position and a recoil position, the barrel defining a gas aperture communicating with the bore, a gas operating system connected to the frame, having a gas inlet, and operably connected to the bolt assembly to move the bolt assembly from the battery position toward the recoil position, and the gas inlet being forward of the gas aperture. There may be a gas conduit extending forward from the gas aperture to the gas inlet. The gas aperture may be proximate the rear end of the barrel. Unlike conventional gas-operated firearms, the barrel is free of contact with any other elements except proximate the rear end of the barrel.

firearm gas-operated
Jun 17, 2025

US12332013 - Firearm with dual feed magazine

A firearm with dual feed magazine has a frame defining a magazine well and defining a forward and rearward direction, a magazine configured to be received in the magazine well in a retained position, the magazine including a tubular body having an upper end and an opposed lower end, the tubular body defining adjacent first and second elongated passages, a first spring and first follower received in the first elongated passage, a second spring and second follower received in the second elongated passage, the first elongated passage configured to receive a first stack of ammunition, and the second elongated passage configured to receive a second stack of ammunition. The tubular body may include a divider between the first and second elongated passages and is configured to separate the first stack of ammunition from the second stack of ammunition. The divider may be a flat wall.

firearm magazine ammunition
Jun 17, 2025

US12332014 - Foldable break barrel airgun

A foldable break barrel air gun that is movable from a stowed configuration to a use configuration. The foldable break barrel air gun includes a stock having a butt stock pivotally connected to a forestock in which a firing engine is located. A barrel having a muzzle end and a breech end is provided, with the barrel being pivotally connected to the forestock proximate the breech end. A cocking linkage has a first portion that is pivotally connected to the barrel and a second portion that is connected and/or engaged with the firing engine by a releasable linkage connection. With the releasable linkage connection released, the butt stock is foldable relative to the forestock, and the barrel is foldable relative to the forestock such that the butt stock is arranged in proximity to and preferably attachable to the barrel proximate to the muzzle end in the stowed configuration.

Jun 17, 2025

US12332015 - Firearm stock with hydraulic dampening

The disclosure relates to the firearms and accessories manufacturing sector, and more specifically to a stock with a hydraulic damping system and anatomical regulation that supports and controls the shooter, allowing them to hold the weapon stably while aiming and firing accurately. This invention discloses a stock with a hydraulic damping system that aims to significantly reduce the impact of firing on firearms. The stock uses an internal hydraulic mechanism that absorbs and disperses some of the energy generated by the impact, providing a smoother and more comfortable shooting experience for the shooter. The hydraulic damping system consists of a piston, oil chamber and valve assembly designed to work together. When the gun is fired, the impact causes the piston to move inside the oil chamber, compressing the hydraulic fluid. This movement creates a controlled resistance, which helps cushion the impact and dissipate the energy of the gun shot.

firearm stock damping accessories
Jun 17, 2025

US12332016 - Firearm stock or arm brace

This disclosure describes a firearm stock or arm brace with an adjustable length of pull. The stock or arm brace can include a body and lower stock, where the body includes a buffer tube receiving aperture and the lower stock includes a hollow cavity with a plunger and two concentric springs therein. One or more buttons can be affixed to sides of the plunger in the hollow cavity that can be used to depress the plunger against the force of one or both of the springs. One of the two springs may be shorter than the other and have a greater spring constant than the longer spring. Depressing the plunger against the taller spring may allow a user to adjust the length of pull while greater pressure and engagement of the second spring allows the stock or arm brace to be removed from a buffer tube or receiver extension.

firearm stock arm brace adjustable
Jun 17, 2025

US12332017 - Handgun brace

A brace for stabilizing a handheld device such as a handgun against a user's forearm includes a vertically elongated body adapted to detachably engage a portion of the handheld device, and an arm pivotably connected to a portion of the body. The pivotable arm is selectably moveable between a stowed position wherein the arm is vertically aligned with the body, and a deployed position wherein the arm provides a surface against which a user's forearm is removably receivable to stabilize the handheld device when the body is engaged with the handheld device.

handgun brace stabilization
Jun 17, 2025

US12332018 - Pistol holster

A pistol holster which is formed by a rigid hollow body which fully covers the entire firearm except for the grip and thus protects it from damage, containing a longitudinal inner cavity situated inside and, under the back of the holster in which cavity there is movably and flexibly seated firearm sight guide, engaged in the holes in the body of which guide are spring elements mounted and locked therein, which also fit against the flat locking plate in the cavity of the holster with the holster also containing a sight cover to secure the position of the sight guide with the locking plate and spring elements in the cavity.

pistol holster
Jun 17, 2025

US12332019 - Adjustable target sight

A target sight for a firearm includes a base for securing a body of the target sight to the firearm, a light source coupled to a carrier mount that is disposed within a carrier plate, a horizontal adjustment system for the carrier plate structured to cause the carrier plate to move horizontally within the body of the target sight, and a vertical adjustment system for the carrier mount structured to cause the carrier mount to move vertically relative to the carrier plate. Methods are also described.

firearm sight adjustable
Jun 17, 2025

US12332020 - Throw lever for a magnification ring of an optical sight

The disclosure is related to a throw lever device for use with at least one magnification ring of at least one optical sight. The throw lever device includes a base member and a lever member pivotally attached to the base member. The lever member includes a detent assembly whereby the lever member may be held in multiple fixed positions about the base member including at least one fixed operable position for turning a magnification ring and at least one fixed non-operable position.

Jun 17, 2025

US12332021 - Scope mount system with offset accessory attachment mount

A mount for attaching an optical scope to a weapon includes a base and front and rear lower clamping members extending from the base. The rear lower clamping member is axially spaced apart from the front lower clamping member. A front upper clamping member is attached to the front lower clamping member to define a front scope ring having a front cylindrical bore. A rear upper clamping member is attached to the rear lower clamping member to define a rear scope ring having a rear cylindrical bore, and wherein the front and rear cylindrical bores are co-aligned with a first axis. An accessory mount configured to receive a weapon accessory extends from the front upper clamping member and has an elongate portion extending along a second axis. The first axis and second axis are parallel and the second axis is laterally offset with respect to the first axis.

scope mount accessory firearm