US12607426 - Semi-automatic shotgun and components thereof

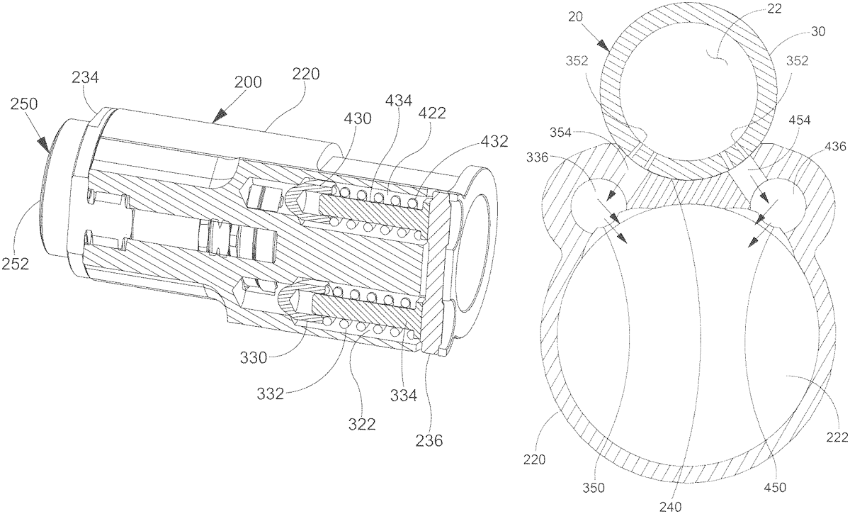
The patent describes a semi-automatic shotgun featuring a unique gas block assembly with dual pressure relief valves that regulate gas pressure during operation, enhancing consistency across various shotshell power levels. This design includes a breech block mechanism that efficiently loads and ejects shells, ensuring reliable cycling of the firearm.
Claim 1
1 . A semiautomatic shotgun, comprising: a receiver defining a receiver interior; a breech block positioned in the receiver interior, the breech block having an in-battery position and an open position; a barrel attached to a forward portion of the receiver, the barrel having a barrel wall extending forwardly from the receiver, the barrel wall defining a barrel bore with a barrel axis; a piston and a piston cylinder defining a piston chamber, the piston chamber being fluidly connected to the barrel bore and the piston being operatively coupled to the breech block for selectively moving the breech block between the in-battery position and the open position; and a pair of pressure regulators fluidly connected to the piston chamber by way of respective clusters of holes through the barrel wall, each hole having a diameter of less than .070 inches. a receiver defining a receiver interior; a breech block positioned in the receiver interior, the breech block having an in-battery position and an open position; a barrel attached to a forward portion of the receiver, the barrel having a barrel wall extending forwardly from the receiver, the barrel wall defining a barrel bore with a barrel axis; a piston and a piston cylinder defining a piston chamber, the piston chamber being fluidly connected to the barrel bore and the piston being operatively coupled to the breech block for selectively moving the breech block between the in-battery position and the open position; and a pair of pressure regulators fluidly connected to the piston chamber by way of respective clusters of holes through the barrel wall, each hole having a diameter of less than .070 inches.
Google Patents
https://patents.google.com/patent/US12607426
USPTO PDF
https://image-ppubs.uspto.gov/dirsearch-public/print/downloadPdf/12607426