US12607102 - Tandem sub for self-orienting perforating system

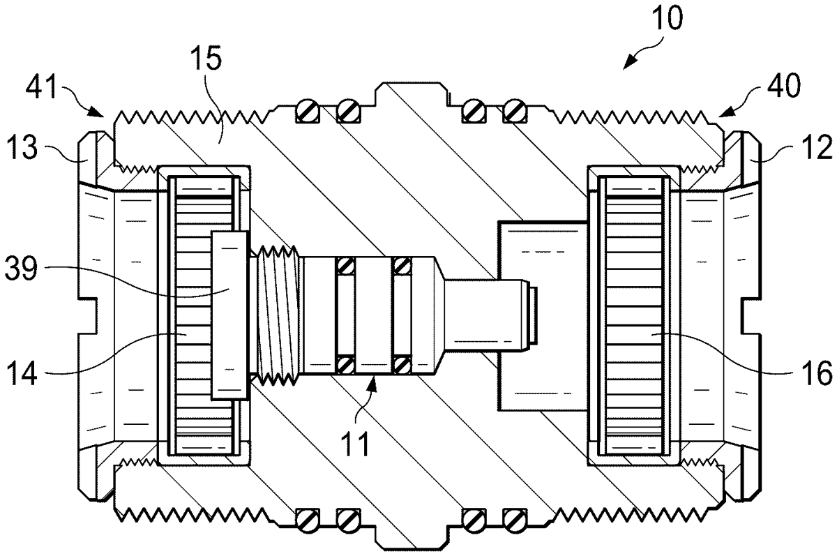
The patent describes a tandem sub designed for self-orienting perforation operations in wellbores, featuring a rotational mechanism that allows shaped charges to rotate independently within connected perforating gun assemblies. This system enhances the precision of perforation by utilizing gravity for orientation and providing rotational independence between components.
Claim 1
1 . A tandem perforating system for self-orienting perforation operations in a wellbore, the system comprising: a tandem sub configured to connect to a first perforating gun containing at least one shaped charge in a wellbore environment; a first orienting mechanism in the first perforating gun to orient the at least one shaped charge based on gravity; a first rotational mechanism within the tandem sub providing rotational independence between the tandem sub and the first perforating gun; a first retaining mechanism that couples the first rotational mechanism within the tandem sub. a tandem sub configured to connect to a first perforating gun containing at least one shaped charge in a wellbore environment; a first orienting mechanism in the first perforating gun to orient the at least one shaped charge based on gravity; a first rotational mechanism within the tandem sub providing rotational independence between the tandem sub and the first perforating gun; a first retaining mechanism that couples the first rotational mechanism within the tandem sub.
Google Patents
https://patents.google.com/patent/US12607102
USPTO PDF
https://image-ppubs.uspto.gov/dirsearch-public/print/downloadPdf/12607102