US12589469 - Leveling knob system and mechanism

The patent describes a leveling system for a clamping device that includes a leveling knob capable of adjusting the positioning of opposing clamping arms through a range of angles. This mechanism allows for precise alignment of the clamping arms, enhancing the functionality of the clamping device.
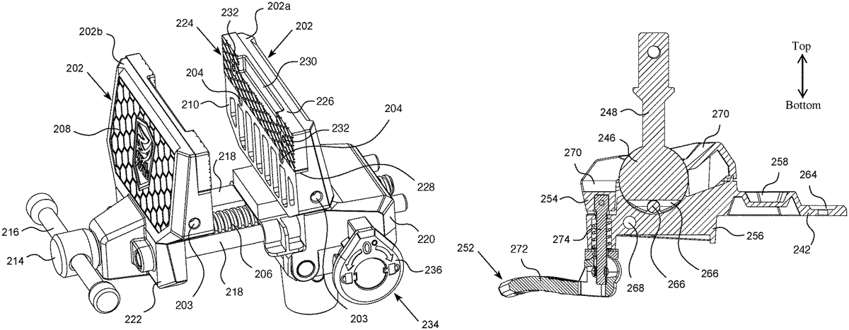
Claim 1
1 . A leveling system comprising: a clamping device having a first clamping arm and a second clamping arm, wherein the first clamping arm and the second clamping arm each have an inner face, and the inner faces are opposed to each other and define parallel planes, a base, wherein at least one of the first and second clamping arms is disposed thereon, and a clamping mechanism connecting the first clamping arm to the second clamping arm and enabling at least one of the first and second clamping arms to move relative to the other of the first and second clamping arms; and a leveling knob attached to the base and comprised of a knob disposed on an end of a shaft, wherein the leveling knob adjusts positioning of the opposing, parallel faces through a range of angles perpendicular to the parallel planes of the inner faces, the leveling knob has an elongate axis that is parallel to the parallel planes of the inner faces of the clamping arms, and at least a portion of the shaft is positioned within the base. a clamping device having a first clamping arm and a second clamping arm, wherein the first clamping arm and the second clamping arm each have an inner face, and the inner faces are opposed to each other and define parallel planes, a base, wherein at least one of the first and second clamping arms is disposed thereon, and a clamping mechanism connecting the first clamping arm to the second clamping arm and enabling at least one of the first and second clamping arms to move relative to the other of the first and second clamping arms; and a first clamping arm and a second clamping arm, wherein the first clamping arm and the second clamping arm each have an inner face, and the inner faces are opposed to each other and define parallel planes, a base, wherein at least one of the first and second clamping arms is disposed thereon, and a clamping mechanism connecting the first clamping arm to the second clamping arm and enabling at least one of the first and second clamping arms to move relative to the other of the first and second clamping arms; and a leveling knob attached to the base and comprised of a knob disposed on an end of a shaft, wherein the leveling knob adjusts positioning of the opposing, parallel faces through a range of angles perpendicular to the parallel planes of the inner faces, the leveling knob has an elongate axis that is parallel to the parallel planes of the inner faces of the clamping arms, and at least a portion of the shaft is positioned within the base. the leveling knob adjusts positioning of the opposing, parallel faces through a range of angles perpendicular to the parallel planes of the inner faces, the leveling knob has an elongate axis that is parallel to the parallel planes of the inner faces of the clamping arms, and at least a portion of the shaft is positioned within the base.
Google Patents
https://patents.google.com/patent/US12589469
USPTO PDF
https://image-ppubs.uspto.gov/dirsearch-public/print/downloadPdf/12589469