US12584722 - Press device

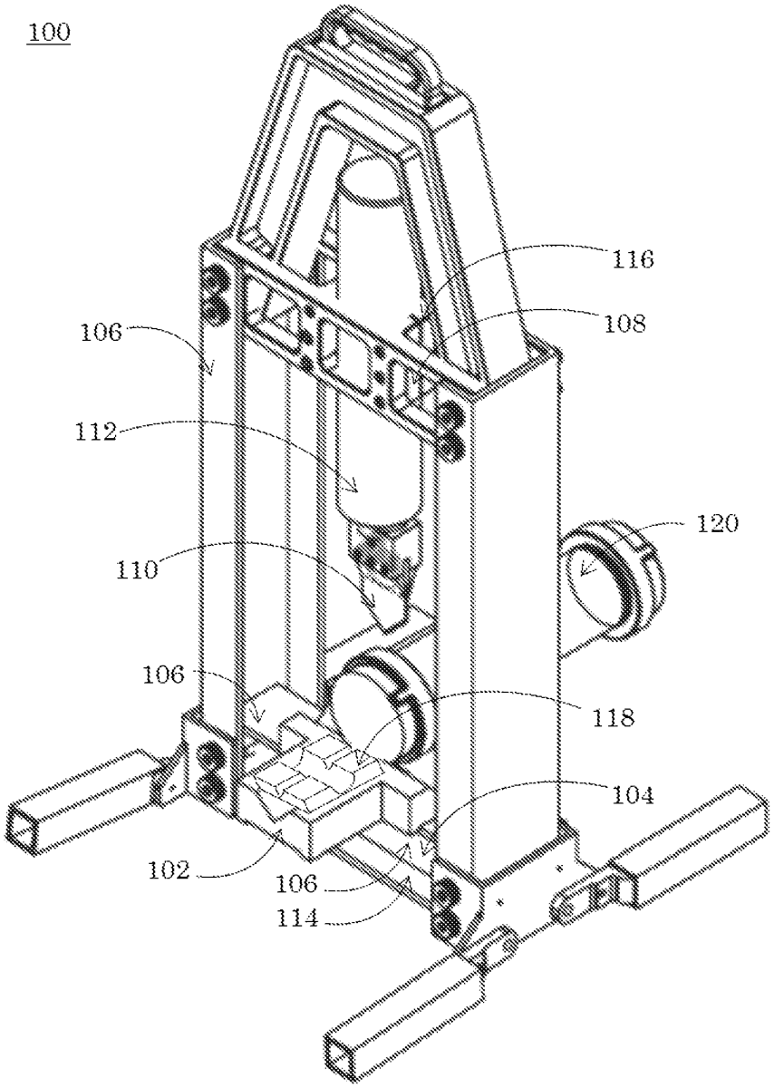
The patent describes a press device designed for maintaining alignment between a base plate and a fracturing device, utilizing a hydraulic ram for operation. It includes components such as a cradle, actuator, switch, and body, all working together to facilitate the fracturing of objects.
Claim 1
1 . A press device comprising: a cradle, a base plate, a platform, a fracturing device, an actuator, a switch, and a body; the base plate located at a first end of the cradle; the fracturing device proximally located at a second end of the cradle; the cradle is adapted to work in communication with the base plate to maintain alignment between the base plate and the fracturing device; the actuator proximally located to the second end of the cradle; the platform affixed to the base plate; the switch operably connecting the actuator to the fracturing device; and the body holding the cradle, the base plate, the fracturing device, the actuator, and the switch, wherein the fracturing device comprises a tip to fracture an object. a cradle, a base plate, a platform, a fracturing device, an actuator, a switch, and a body; the base plate located at a first end of the cradle; the fracturing device proximally located at a second end of the cradle; the cradle is adapted to work in communication with the base plate to maintain alignment between the base plate and the fracturing device; the actuator proximally located to the second end of the cradle; the platform affixed to the base plate; the switch operably connecting the actuator to the fracturing device; and the body holding the cradle, the base plate, the fracturing device, the actuator, and the switch, wherein the fracturing device comprises a tip to fracture an object.
Google Patents
https://patents.google.com/patent/US12584722
USPTO PDF
https://image-ppubs.uspto.gov/dirsearch-public/print/downloadPdf/12584722