US12584717 - Gas generator

The patent describes a gas generator designed for firearms, featuring a housing that contains an ignition unit and a gas generating agent within a combustion chamber. It includes a discharge port for releasing combustion gas and a filter positioned to manage gas flow between the combustion chamber and the discharge port.
Claim 1
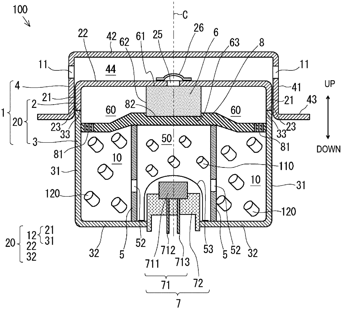
1 . A gas generator, comprising: a housing; an ignition unit disposed in the housing; a gas generating agent that is accommodated in a combustion chamber in the housing and that generates a combustion gas upon operation of the ignition unit; a discharge port provided in the housing and configured to discharge the combustion gas from the housing; and a filter disposed so as to oppose the discharge port and extending in an axial direction of the housing, the filter including a first axial end surface and a second axial end surface opposite to the first axial end surface; and, a partition wall member partitioning a space inside the housing into the combustion chamber accommodating therein the gas generating agent and a filter chamber accommodating therein the filter, the partition wall member including a communication hole allowing the combustion chamber and the filter chamber to be in communication with each other, wherein, at least an outer peripheral portion on the first axial end surface of the filter is in contact with an inner wall surface of the housing to surround the discharge port, a portion that is at least a part of an outer peripheral surface of the filter around an axis of the filter and that extends over the entire circumference is an inflow portion of the combustion gas, the inflow portion is disposed to be in communication with the combustion chamber, and the second axial end surface of the filter is in contact with the partition wall member. a housing; an ignition unit disposed in the housing; a gas generating agent that is accommodated in a combustion chamber in the housing and that generates a combustion gas upon operation of the ignition unit; a discharge port provided in the housing and configured to discharge the combustion gas from the housing; and a filter disposed so as to oppose the discharge port and extending in an axial direction of the housing, the filter including a first axial end surface and a second axial end surface opposite to the first axial end surface; and, a partition wall member partitioning a space inside the housing into the combustion chamber accommodating therein the gas generating agent and a filter chamber accommodating therein the filter, the partition wall member including a communication hole allowing the combustion chamber and the filter chamber to be in communication with each other, wherein, at least an outer peripheral portion on the first axial end surface of the filter is in contact with an inner wall surface of the housing to surround the discharge port, a portion that is at least a part of an outer peripheral surface of the filter around an axis of the filter and that extends over the entire circumference is an inflow portion of the combustion gas, the inflow portion is disposed to be in communication with the combustion chamber, and the second axial end surface of the filter is in contact with the partition wall member.
Google Patents
https://patents.google.com/patent/US12584717
USPTO PDF
https://image-ppubs.uspto.gov/dirsearch-public/print/downloadPdf/12584717