US12584710 - Adjustable, interchangeable holster

The patent describes an adjustable and interchangeable holster designed to securely retain a handgun while allowing for compatibility with various holster accessories. It features two adjustable attachment formations that enable the holster to be easily modified for use by both left- and right-handed users.
Claim 1
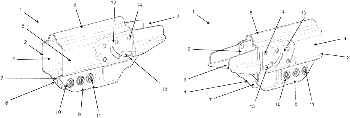
1 . A versatile, passive retention holster comprising a holster body and at least one compatible, interchangeable and adjustable, holster accessory, wherein the holster body comprises a cavity, dimensioned and configured to releasably receive and retain a preselected handgun frictionally therein, and, wherein the holster body further comprises a first adjustable attachment formation, located on one side of the holster body, wherein the first adjustable attachment formation is dimensioned and configured to render the holster body operatively securable, adjustably to the at least one compatible, interchangeable, and adjustable holster accessory; and a second adjustable attachment formation, located on an opposing side of the holster body, relative to the first adjustable attachment formation, wherein the second adjustable attachment formation is dimensioned and configured to render the holster body operatively securable, adjustably to the at least one compatible, interchangeable, and adjustable holster accessory; wherein the at least one compatible, interchangeable, and adjustable holster accessory comprises a corresponding attachment formation, correspondingly dimensioned and configured to render the at least one compatible, interchangeable, and adjustable holster accessory operatively securable, adjustably and interchangeably, to the opposing sides of the holster body via the first and the second adjustable attachment formations; and wherein the first and the second attachment formations comprise at least one aperture and at least one angled slit, wherein both the aperture and the slit are dimensioned and configured to receive at least one securing protrusion of the at least one compatible, interchangeable, and adjustable holster accessory slidably adjustable between a plurality of orientations, enabling the holster body to be slidably adjustable and securable relative to the at least one compatible, interchangeable, and adjustable holster accessory; thereby rendering the holster interchangeably locatable and usable adjustably for a left- and a right-handed user on a user’s body. the holster body comprises a cavity, dimensioned and configured to releasably receive and retain a preselected handgun frictionally therein, and, wherein the holster body further comprises a first adjustable attachment formation, located on one side of the holster body, wherein the first adjustable attachment formation is dimensioned and configured to render the holster body operatively securable, adjustably to the at least one compatible, interchangeable, and adjustable holster accessory; and a second adjustable attachment formation, located on an opposing side of the holster body, relative to the first adjustable attachment formation, wherein the second adjustable attachment formation is dimensioned and configured to render the holster body operatively securable, adjustably to the at least one compatible, interchangeable, and adjustable holster accessory; wherein the holster body further comprises a first adjustable attachment formation, located on one side of the holster body, wherein the first adjustable attachment formation is dimensioned and configured to render the holster body operatively securable, adjustably to the at least one compatible, interchangeable, and adjustable holster accessory; and a second adjustable attachment formation, located on an opposing side of the holster body, relative to the first adjustable attachment formation, wherein the second adjustable attachment formation is dimensioned and configured to render the holster body operatively securable, adjustably to the at least one compatible, interchangeable, and adjustable holster accessory; wherein the at least one compatible, interchangeable, and adjustable holster accessory comprises a corresponding attachment formation, correspondingly dimensioned and configured to render the at least one compatible, interchangeable, and adjustable holster accessory operatively securable, adjustably and interchangeably, to the opposing sides of the holster body via the first and the second adjustable attachment formations; and wherein the first and the second attachment formations comprise at least one aperture and at least one angled slit, wherein both the aperture and the slit are dimensioned and configured to receive at least one securing protrusion of the at least one compatible, interchangeable, and adjustable holster accessory slidably adjustable between a plurality of orientations, enabling the holster body to be slidably adjustable and securable relative to the at least one compatible, interchangeable, and adjustable holster accessory; thereby rendering the holster interchangeably locatable and usable adjustably for a left- and a right-handed user on a user’s body.
Google Patents
https://patents.google.com/patent/US12584710
USPTO PDF
https://image-ppubs.uspto.gov/dirsearch-public/print/downloadPdf/12584710