US12584708 - Gun targeting system

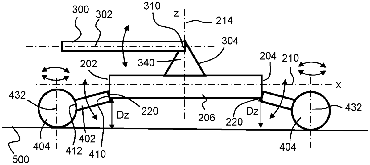
The gun targeting system features a chassis with a pivot-mounted gun barrel and a suspension system that includes multiple wheel arms, allowing for precise orientation adjustments to target objects. By pivoting the wheel arms and wheels, the system can control the chassis’s roll, pitch, and yaw, enhancing targeting accuracy.
Claim 1
1 . A gun targeting system comprising: a chassis extending along an x-axis, a first end of the chassis and a second end of the chassis spaced apart from one another along the x-axis, the chassis extending along a y-axis, a first side of the chassis and a second side of the chassis spaced apart from one another along the y-axis, the x-axis defining a chassis roll axis, the y-axis defining a chassis pitch axis, and a z-axis defining a chassis yaw axis; a gun barrel having a barrel axis, the barrel being mounted to the chassis by a pivot mount, the barrel being pivotable relative to the x-axis about a pivot axis aligned with the y-axis and mounted such that the barrel is constrained to move in a plane defined by the x-axis and the z-axis; and a chassis suspension system comprising a plurality of wheel arms, each wheel arm extending away from a different chassis mount on the chassis to a respective wheel, each wheel being rotatably mounted on the respective wheel arm, each wheel configured for engagement with a support surface, each wheel arm and wheel configured to support the chassis apart from the support surface, each wheel arm being pivotable relative to the chassis such that the roll of the chassis about the x-axis, the pitch of the chassis about the y-axis, and the yaw of the chassis about the z-axis is controllable by pivoting at least one of the wheel arms relative to the chassis, and each wheel being pivotable relative to the respective wheel arm; wherein the gun targeting system is configured to position the barrel towards an orientation to target an object by pivoting one or more wheel arms relative to the chassis and/or by pivoting one or more wheels relative to the respective wheel arm and/or by pivoting one or more wheel arms relative to the respective wheel. a chassis extending along an x-axis, a first end of the chassis and a second end of the chassis spaced apart from one another along the x-axis, the chassis extending along a y-axis, a first side of the chassis and a second side of the chassis spaced apart from one another along the y-axis, the x-axis defining a chassis roll axis, the y-axis defining a chassis pitch axis, and a z-axis defining a chassis yaw axis; a gun barrel having a barrel axis, the barrel being mounted to the chassis by a pivot mount, the barrel being pivotable relative to the x-axis about a pivot axis aligned with the y-axis and mounted such that the barrel is constrained to move in a plane defined by the x-axis and the z-axis; and a chassis suspension system comprising a plurality of wheel arms, each wheel arm extending away from a different chassis mount on the chassis to a respective wheel, each wheel being rotatably mounted on the respective wheel arm, each wheel configured for engagement with a support surface, each wheel arm and wheel configured to support the chassis apart from the support surface, each wheel arm being pivotable relative to the chassis such that the roll of the chassis about the x-axis, the pitch of the chassis about the y-axis, and the yaw of the chassis about the z-axis is controllable by pivoting at least one of the wheel arms relative to the chassis, and each wheel being pivotable relative to the respective wheel arm; wherein the gun targeting system is configured to position the barrel towards an orientation to target an object by pivoting one or more wheel arms relative to the chassis and/or by pivoting one or more wheels relative to the respective wheel arm and/or by pivoting one or more wheel arms relative to the respective wheel.
Google Patents
https://patents.google.com/patent/US12584708
USPTO PDF
https://image-ppubs.uspto.gov/dirsearch-public/print/downloadPdf/12584708