US12584706 - Front removeable trigger shoe

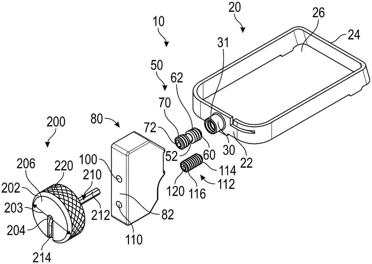
The patent describes a trigger assembly for a 1911 format pistol that features a trigger bow with a threaded portion, a mateable threaded fastener, and a trigger shoe that secures to the bow. This design allows for easy removal and attachment of the trigger shoe, enhancing customization and maintenance of the firearm.
Claim 1
1 . A trigger assembly for a 1911 format pistol comprising: a trigger bow having a forward portion defining a first threaded portion; a threaded fastener having a second threaded portion mateable with the first threaded portion; a trigger shoe configured to operably engage the threaded fastener to secure the trigger shoe to the trigger bow; and wherein the first threaded portion of the bow is an internally threaded receptacle configured to mate with the fastener. a trigger bow having a forward portion defining a first threaded portion; a threaded fastener having a second threaded portion mateable with the first threaded portion; a trigger shoe configured to operably engage the threaded fastener to secure the trigger shoe to the trigger bow; and wherein the first threaded portion of the bow is an internally threaded receptacle configured to mate with the fastener.
Google Patents
https://patents.google.com/patent/US12584706
USPTO PDF
https://image-ppubs.uspto.gov/dirsearch-public/print/downloadPdf/12584706