US12583557 - Fuel delivery system

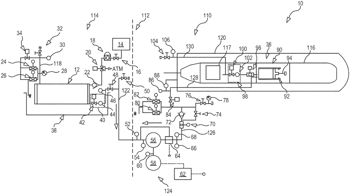
This patent describes a fuel delivery system designed for testing vehicle propulsion systems, featuring a bulk fuel storage tank that maintains fuel at low pressure under a layer of water to prevent air entrapment. It includes an on-board fuel tank for pressurized fuel, a positive displacement pump, and various valves and sensors to manage fuel flow between the tanks.
Claim 1
1 . A fuel delivery system, comprising: a test cell for housing a vehicle under test drive system; a fuel support cell separated from said test cell; a bulk fuel storage tank for storing fuel at a pressure of at most 50 PSIG, said bulk fuel storage tank located in said fuel support cell wherein said bulk fuel storage tank is capable of storing fuel under a layer of water, and the layer of water being covered by a layer of gas, wherein the layer of water precludes air entrapment in the fuel; a CO 2 supply joined in communication with said bulk fuel storage tank, CO 2 acting as the layer of gas; an on-board fuel tank located within said test cell, said on-board fuel tank storing fuel at a pressure greater than 50 PSIG for communication with the housed vehicle under test drive system; a positive displacement pump located inside said test cell, said positive displacement pump including an input in fluid communication with said bulk fuel storage tank and an output in fluid communication with said on-board fuel tank; and a plurality of valves and sensors positioned in fluid communication between said bulk fuel storage tank and said positive displacement pump and between said positive displacement pump and said on-board fuel tank. a test cell for housing a vehicle under test drive system; a fuel support cell separated from said test cell; a bulk fuel storage tank for storing fuel at a pressure of at most 50 PSIG, said bulk fuel storage tank located in said fuel support cell wherein said bulk fuel storage tank is capable of storing fuel under a layer of water, and the layer of water being covered by a layer of gas, wherein the layer of water precludes air entrapment in the fuel; a CO 2 supply joined in communication with said bulk fuel storage tank, CO 2 acting as the layer of gas; an on-board fuel tank located within said test cell, said on-board fuel tank storing fuel at a pressure greater than 50 PSIG for communication with the housed vehicle under test drive system; a positive displacement pump located inside said test cell, said positive displacement pump including an input in fluid communication with said bulk fuel storage tank and an output in fluid communication with said on-board fuel tank; and a plurality of valves and sensors positioned in fluid communication between said bulk fuel storage tank and said positive displacement pump and between said positive displacement pump and said on-board fuel tank.
Google Patents
https://patents.google.com/patent/US12583557
USPTO PDF
https://image-ppubs.uspto.gov/dirsearch-public/print/downloadPdf/12583557