US12540802 - Laser weapon system

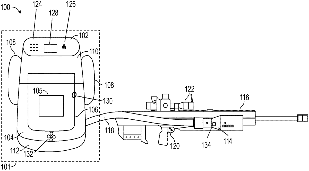
The patent describes a laser weapon system designed to be integrated with a firearm, featuring a portable body that includes a laser generation module, a heat mitigation module, and a laser emitting unit. This system utilizes a fiber optic cable to transmit the generated laser from the module to the emitting unit, aiming for a lightweight and compact design.
Claim 1
1 . A laser weapon system configured to be coupled to a firearm, the laser weapon system comprising: a portable body configured to be carried by a user, the portable body comprising: a laser generation module configured to generate a laser, the laser generation module coupled to a power source that powers the laser generation module; and a heat mitigation module configured to cool the laser generation module; a laser emitting unit configured to be mounted to a portion of the firearm; and a fiber optic cable coupled at a first end to the laser generation module and at a second end to the laser emitting unit, the fiber optic cable configured to transmit the laser generated by the laser generation module to the laser emitting unit. a portable body configured to be carried by a user, the portable body comprising: a laser generation module configured to generate a laser, the laser generation module coupled to a power source that powers the laser generation module; and a heat mitigation module configured to cool the laser generation module; a laser generation module configured to generate a laser, the laser generation module coupled to a power source that powers the laser generation module; and a heat mitigation module configured to cool the laser generation module; a laser emitting unit configured to be mounted to a portion of the firearm; and a fiber optic cable coupled at a first end to the laser generation module and at a second end to the laser emitting unit, the fiber optic cable configured to transmit the laser generated by the laser generation module to the laser emitting unit.
Google Patents
https://patents.google.com/patent/US12540802
USPTO PDF
https://image-ppubs.uspto.gov/dirsearch-public/print/downloadPdf/12540802