US12523451 - Vehicle cell and protected vehicle

The patent describes a vehicle cell designed for protected vehicles, featuring a structural component and an additional component connected by a connection and decoupling apparatus that can mechanically separate them in the event of structural deformation due to a blast. This apparatus utilizes a hook and loop fastener to ensure a positive connection while allowing for decoupling when necessary.
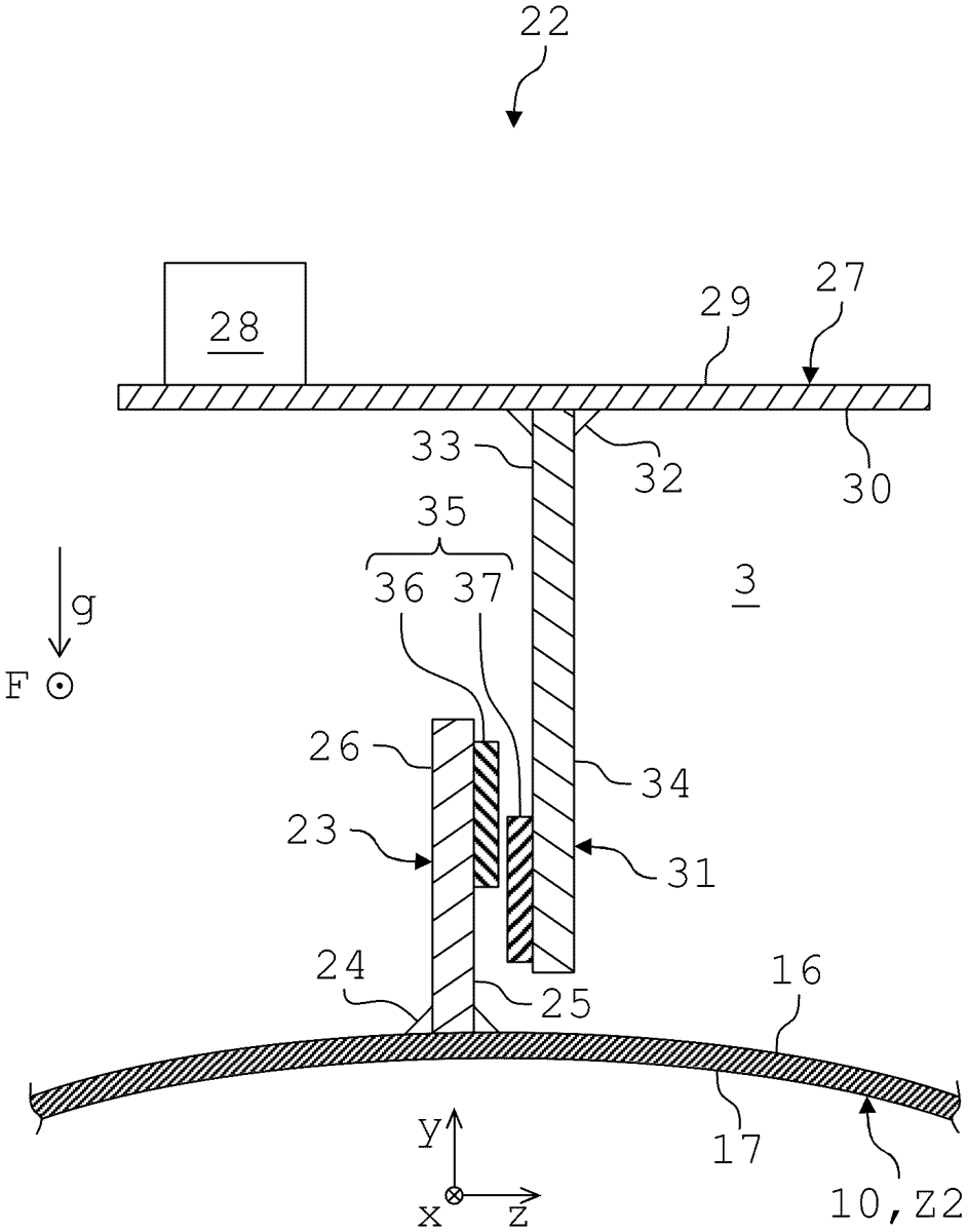
Claim 1
1 . A vehicle cell for a protected vehicle, comprising: an assembly, comprising: a structural component; an additional component arranged within the vehicle cell; and a connection and decoupling apparatus, configured to connect the additional component to the structural component, wherein the connection and decoupling apparatus is further configured to mechanically decouple the additional component from the structural component in an event of a deformation of the structural component resulting from a blast acting on the structural component, wherein the connection and decoupling apparatus ( 35 ) further comprises a hook and loop fastener, wherein the additional component is positively connected to the structural component by the connection and decoupling apparatus, wherein the connection and decoupling apparatus further comprises a first connection and decoupling element assigned to the structural component and a second connection and decoupling element assigned to the additional component, wherein the first connection and decoupling element and the second connection and decoupling element engage positively with one another to connect the additional component to the structural component, wherein the first connection and decoupling element is oriented perpendicularly to the structural component, and wherein the second connection and decoupling element is oriented perpendicularly to the additional component. an assembly, comprising: a structural component; an additional component arranged within the vehicle cell; and a connection and decoupling apparatus, configured to connect the additional component to the structural component, wherein the connection and decoupling apparatus is further configured to mechanically decouple the additional component from the structural component in an event of a deformation of the structural component resulting from a blast acting on the structural component, wherein the connection and decoupling apparatus ( 35 ) further comprises a hook and loop fastener, wherein the additional component is positively connected to the structural component by the connection and decoupling apparatus, wherein the connection and decoupling apparatus further comprises a first connection and decoupling element assigned to the structural component and a second connection and decoupling element assigned to the additional component, wherein the first connection and decoupling element and the second connection and decoupling element engage positively with one another to connect the additional component to the structural component, wherein the first connection and decoupling element is oriented perpendicularly to the structural component, and wherein the second connection and decoupling element is oriented perpendicularly to the additional component. a structural component; an additional component arranged within the vehicle cell; and a connection and decoupling apparatus, configured to connect the additional component to the structural component, wherein the connection and decoupling apparatus is further configured to mechanically decouple the additional component from the structural component in an event of a deformation of the structural component resulting from a blast acting on the structural component, wherein the connection and decoupling apparatus ( 35 ) further comprises a hook and loop fastener, wherein the additional component is positively connected to the structural component by the connection and decoupling apparatus, wherein the connection and decoupling apparatus further comprises a first connection and decoupling element assigned to the structural component and a second connection and decoupling element assigned to the additional component, wherein the first connection and decoupling element and the second connection and decoupling element engage positively with one another to connect the additional component to the structural component, wherein the first connection and decoupling element is oriented perpendicularly to the structural component, and wherein the second connection and decoupling element is oriented perpendicularly to the additional component.
Google Patents
https://patents.google.com/patent/US12523451
USPTO PDF
https://image-ppubs.uspto.gov/dirsearch-public/print/downloadPdf/12523451