US12523449 - Personal protective vest assembly and methods of assembling same

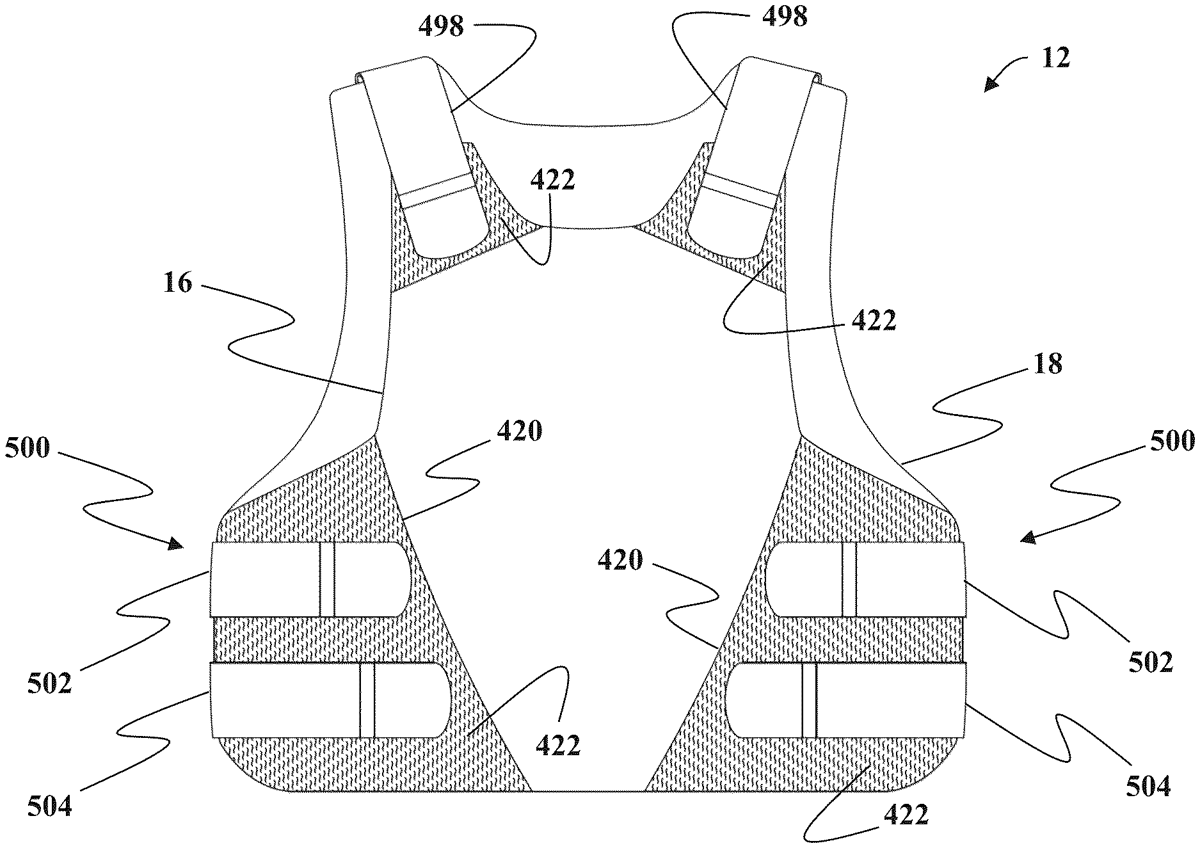
The patent describes a personal protective vest assembly featuring a front and rear vest panel, designed to fit securely on the wearer with removable attachment straps. The front panel includes a ballistic panel pocket and fastening sections made of hook and loop material, enhancing its protective capabilities.
Claim 1
1 . A personal protective vest assembly comprising: a carrier vest including: a front vest panel assembly adapted to overlay a chest of the wearer; a rear vest panel assembly adapted to overlay a back of the wearer; and a plurality of attachment straps removably coupled to the front vest panel assembly and the rear vest panel assembly; the front vest panel assembly including a front vest panel body extending between a front vest upper portion and a front vest lower portion along a vertical axis and between opposing front vest side edges along a horizontal axis; the front vest panel body including a forward facing outer surface, an interior facing outer surface, and an inner surface defining a front vest ballistic panel pocket therein; the forward facing outer surface including a pair of lower front vest fastening sections defined along the front vest lower portion orientated in a mirrored relationship along the vertical axis; each lower front vest fastening section including hook & loop fabric material extending from a corresponding front vest side edge towards a center of the front vest lower portion and including an interior edge spaced a distance from the corresponding front vest side edge and having a concave arcuate shape extending from an upper end of the front vest lower portion to a bottom edge of the forward facing outer surface; and a first flexible body armor panel positioned within the front vest ballistic panel pocket and including a ballistic material panel including a plurality of layered material segments defined between a strike face and a wear face, each of the layered material segments including a different ballistic material. a carrier vest including: a front vest panel assembly adapted to overlay a chest of the wearer; a rear vest panel assembly adapted to overlay a back of the wearer; and a plurality of attachment straps removably coupled to the front vest panel assembly and the rear vest panel assembly; the front vest panel assembly including a front vest panel body extending between a front vest upper portion and a front vest lower portion along a vertical axis and between opposing front vest side edges along a horizontal axis; the front vest panel body including a forward facing outer surface, an interior facing outer surface, and an inner surface defining a front vest ballistic panel pocket therein; the forward facing outer surface including a pair of lower front vest fastening sections defined along the front vest lower portion orientated in a mirrored relationship along the vertical axis; each lower front vest fastening section including hook & loop fabric material extending from a corresponding front vest side edge towards a center of the front vest lower portion and including an interior edge spaced a distance from the corresponding front vest side edge and having a concave arcuate shape extending from an upper end of the front vest lower portion to a bottom edge of the forward facing outer surface; and a first flexible body armor panel positioned within the front vest ballistic panel pocket and including a ballistic material panel including a plurality of layered material segments defined between a strike face and a wear face, each of the layered material segments including a different ballistic material.
Google Patents
https://patents.google.com/patent/US12523449
USPTO PDF
https://image-ppubs.uspto.gov/dirsearch-public/print/downloadPdf/12523449