US12523446 - Automatic activation of electronic optic

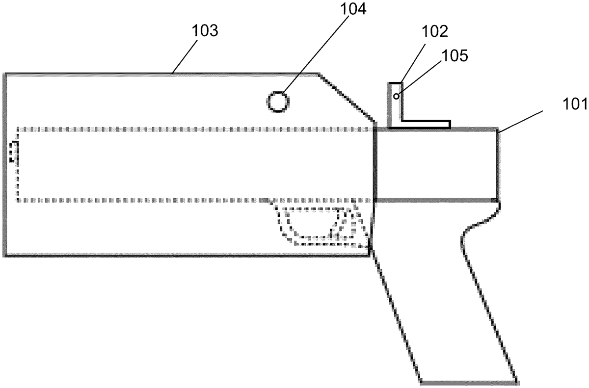
The patent describes a device featuring an electronic optic that activates and deactivates based on its movement relative to an external activation object. The initiation component is triggered by this movement, allowing for automatic control of the electronic optic’s functionality.
Claim 1
1 . A device, the device comprising: an electronic optic comprising an initiation component, wherein the initiation component is triggered via an activation object located external to the electronic optic; wherein the initiation component, when triggered, causes activation of the electronic optic; wherein a movement of the electronic optic from a first position to a second position comprises a movement with respect to the activation object and causes the triggering of the initiation component; and wherein the initiation component is subsequently triggered via the activation object and causes deactivation of the electronic optic, wherein the subsequent triggering is based upon a second movement of the electronic optic to a third position and with respect to the activation object. an electronic optic comprising an initiation component, wherein the initiation component is triggered via an activation object located external to the electronic optic; wherein the initiation component, when triggered, causes activation of the electronic optic; wherein a movement of the electronic optic from a first position to a second position comprises a movement with respect to the activation object and causes the triggering of the initiation component; and wherein the initiation component is subsequently triggered via the activation object and causes deactivation of the electronic optic, wherein the subsequent triggering is based upon a second movement of the electronic optic to a third position and with respect to the activation object.
Google Patents
https://patents.google.com/patent/US12523446
USPTO PDF
https://image-ppubs.uspto.gov/dirsearch-public/print/downloadPdf/12523446