US12510328 - Modified long gun mounting device

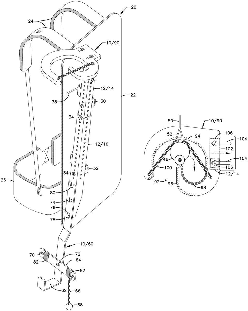
The patent describes a mounting device that allows a long gun to be securely attached to a backpack, enabling the user to easily remove and reattach the firearm without assistance or complex mechanisms. It features a rigid base with a horizontal surface for the gun’s butt, a grasping mechanism for the barrel, and an elastic restraint to keep the firearm in place.
Claim 1
1 . A mounting device attachable on a backpack or the like, said mounting device comprising: a generally rigid lower member having a horizontal surface for receiving a butt of a long gun and a securing means for securing said butt to said lower member; a grasping mechanism for receiving a barrel or barrel and forend of said long gun, wherein said grasping mechanism includes an inner guiding surface and an outer guiding surface, wherein said inner and outer guiding surfaces help direct said barrel or barrel and forend of said long gun to a resting surface; and, an elastic restraint, wherein said elastic restraint maintains said barrel or barrel and forend of said long gun on said resting surface. a generally rigid lower member having a horizontal surface for receiving a butt of a long gun and a securing means for securing said butt to said lower member; a grasping mechanism for receiving a barrel or barrel and forend of said long gun, wherein said grasping mechanism includes an inner guiding surface and an outer guiding surface, wherein said inner and outer guiding surfaces help direct said barrel or barrel and forend of said long gun to a resting surface; and, an elastic restraint, wherein said elastic restraint maintains said barrel or barrel and forend of said long gun on said resting surface.
Google Patents
https://patents.google.com/patent/US12510328
USPTO PDF
https://image-ppubs.uspto.gov/dirsearch-public/print/downloadPdf/12510328