US12492881 - Gas cylinder piercing mechanism for an airgun

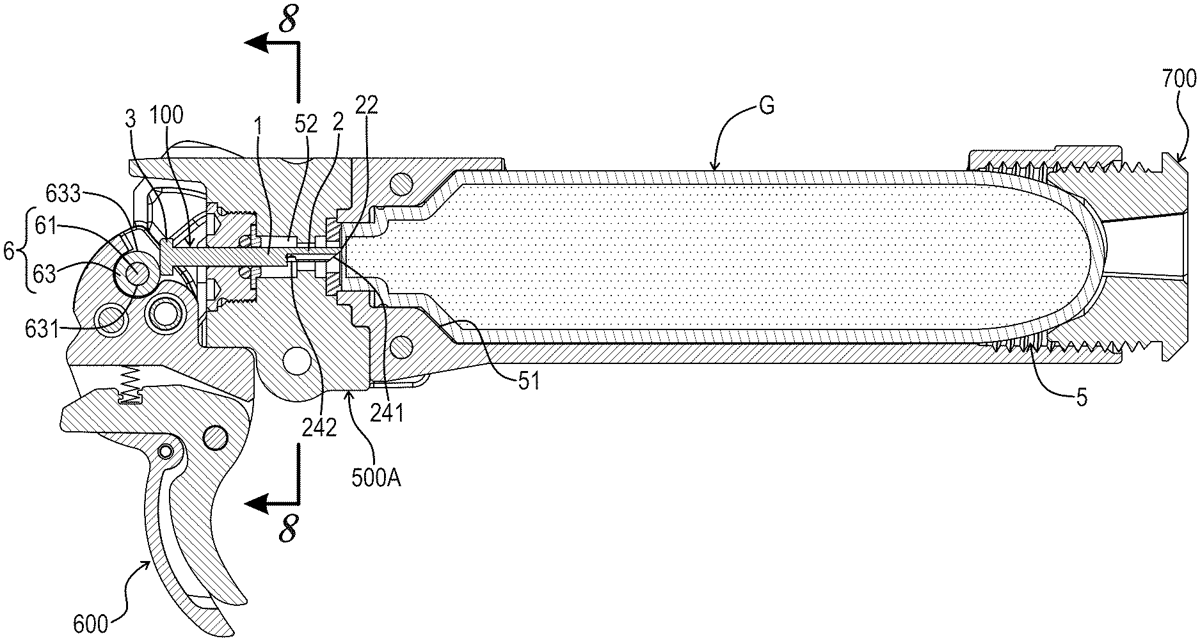
The patent describes a gas cylinder piercing mechanism for airguns that includes a housing with channels for gas flow, a piercing needle, and a trigger assembly. When the trigger is operated, the needle pierces a gas cylinder, allowing compressed gas to flow through the internal passage into the expansion channel and then to the gas supply channel.
Claim 1
1 . A gas cylinder piercing mechanism for an airgun, comprising: a housing comprising a gas supply channel, an expansion channel in fluid communication with the gas supply channel, and a receiving space in which a cylinder of a compressed gas is receivable in fluid communication with the expansion channel; a piercing needle movably disposed in the expansion channel and defining an internal gas passage configured to direct the compressed gas from the cylinder into the expansion channel such that the compressed gas flows to the gas supply channel when the piercing needle pierces the cylinder; and a trigger assembly rotatably connected to the housing and configured to drive the piercing needle to pierce the cylinder when the trigger assembly is operated and the cylinder is received in the receiving space. a housing comprising a gas supply channel, an expansion channel in fluid communication with the gas supply channel, and a receiving space in which a cylinder of a compressed gas is receivable in fluid communication with the expansion channel; a piercing needle movably disposed in the expansion channel and defining an internal gas passage configured to direct the compressed gas from the cylinder into the expansion channel such that the compressed gas flows to the gas supply channel when the piercing needle pierces the cylinder; and a trigger assembly rotatably connected to the housing and configured to drive the piercing needle to pierce the cylinder when the trigger assembly is operated and the cylinder is received in the receiving space.
Google Patents
https://patents.google.com/patent/US12492881
USPTO PDF
https://image-ppubs.uspto.gov/dirsearch-public/print/downloadPdf/12492881